Запчасти Case 580SN (35.738.160) - VAR - 423075, 423076 - BACKHOE BUCKET, CYLINDER, COMPONENTS (35) - HYDRAULIC SYSTEMS

Схема запчастей Case 580SN - (35.738.160) - VAR - 423075, 423076 - BACKHOE BUCKET, CYLINDER, COMPONENTS (35) - HYDRAULIC SYSTEMS
17
2
2
15
14
2
1
2
12
2
6
6
2
3
8
2
10
9
4
19
7
16
2
11
13
18
5
FIT
1:1
100%

Артикул

Название

Примечание

Количество

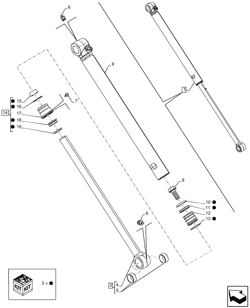
1

84421595

HYDRAULIC CYLINDER,Double Acting, 63.5mm Rod, 88.9mm Bore, 897.9mm Stroke

ASSY, Grey, Bucket, Incl 2 - 19

1шт.

2

84259225

SEAL KIT,63.5mm Rod x 88.9mm Bore

ASSY, Backhoe Bucket Cylinder, Incl 10, 11, 13, 15, 16, 18, 19

1шт.

3

84323183

ROD,63.5mm OD

ASSY, Incl 4, 5

1шт.

4

NSS

NOT SOLD SEPARAT

Rod, Incl in 3

1шт.

5

123407A1

BUSHING,60.19mm ID x 70mm OD x 28mm L

2шт.

6

219-1

LUBE NIPPLE,1/8" - 27 NPTF

2шт.

7

G109395

SELF-TAP SCREW,Hex, #8 - 32 x 3/8"

1шт.

8

86982442

SPECIAL BOLT,Hex, 12, 1 1/4 x 3.25"

1шт.

9

84233448

BARREL,88.75mm Bore Dia

1шт.

10

G100711

SEAL,Split, 82.55mm ID x 88.9mm OD x 9.52mm Thk

1шт.

11

87715783

SEAL,76.45mm ID x 88.9mm OD

1шт.

12

84232661

PISTON ROD/GLAND,87.41mm Bore, 63.5mm Rod, 74.65mm W

1шт.

13

238799A1

SEALING RING,Locking, 80.65mm ID x 88.77mm OD x 4.74mm Thk

1шт.

14

84190554

GLAND

ASSY, Incl 15 - 19

1шт.

15

G109908

BUSHING,63.5mm ID x 66.57mm OD x 25.15mm L

1шт.

16

84130482

SEAL,81.4mm ID x 88.56mm OD x 4.85mm Thk

1шт.

17

NSS

NOT SOLD SEPARAT

Gland, Incl in 14

1шт.

18

1542879C1

SEAL KIT,63.5mm Rod x 88.9mm Bore

Backhoe Bucket Cylinder, Rod & Buffer

1шт.

19

D95146

WIPER SEAL,63.4mm ID x 76.22mm OD x 7.92mm Thk

1шт.

Выбрано товаров: 19