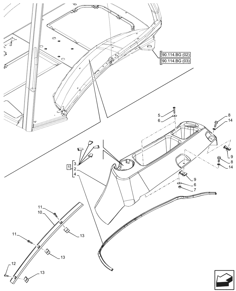
Запчасти Case 580SN (90.160.AM[03]) - VAR - 423001 - CAB, LH, SIDE PANEL, MALAYSIAN (90) - PLATFORM, CAB, BODYWORK AND DECALS

Схема запчастей Case 580SN - (90.160.AM[03]) - VAR - 423001 - CAB, LH, SIDE PANEL, MALAYSIAN (90) - PLATFORM, CAB, BODYWORK AND DECALS
90.114.bg (02)
9
13
9
4
11
8
12
5
1
14
6
10
11
2
13
13
6
7
3
14
8
90.114.bg (03)
FIT
1:1
100%

Артикул

Название

Примечание

Количество

1

86992243

TRAY

ASSY, Incl 2 - 4

1шт.

2

NSS

NOT SOLD SEPARAT

Storage, Incl in 1

1шт.

3

86992284

BUMPER,40-50 Durometer

4шт.

4

400077A1

PROTECTION STRIP,1300mm

1шт.

5

87310127

SCREW,Pan HD, #10 - 24 x 1", SST

2шт.

6

87310146

WASHER,5.16mm ID x 19.05mm OD x 1.55mm Thk

4шт.

7

231-14109

LOCK NUT,#10-24, GB

2шт.

8

87310098

BOLT,M6 x 20 Full SST BLO

2шт.

9

833-40406

NUT,M6, U

2шт.

10

397025A2

TRIM

LH Fender-Canopy

1шт.

11

87534992

SELF-TAP SCREW,Pan Head, M10 x 28mm

2шт.

12

87310126

SCREW,Phillips Drive, Pan HD, #10 - 24 x 3/4", SST

1шт.

13

131-869

SPRING NUT,Ret, J, #10-24

3шт.

14

87310186

WASHER,6.6mm ID x 25mm OD x 1.6mm Thk

2шт.

Выбрано товаров: 0