Запчасти Case 580SN (35.525.AA[07]) - VAR - 747661, 747662 - AUXILIARY HYDRAULIC, LINES (35) - HYDRAULIC SYSTEMS

Схема запчастей Case 580SN - (35.525.AA[07]) - VAR - 747661, 747662 - AUXILIARY HYDRAULIC, LINES (35) - HYDRAULIC SYSTEMS
35.359.ae (03)
17
11
12
13
15
24
13
7
21
19
9
13
1
22
6
16
14
10
8
3
18
20
6
4
2
5
35.525.ai (01)
23
35.300.an (01)
35.525.aa (06)
35.300.aq (01)
39.100.ab (01)
35.732.ae (02)
FIT
1:1
100%

Артикул

Название

Примечание

Количество

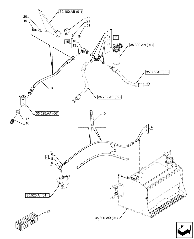
1

47611424

HYDRAULIC HOSE,10mm ID x 1225mm L

Auxiliary Valve to Tank, 1225mm L

1шт.

2

84249061

HOSE PROTECTION,19mm ID x 820mm L

19.1mm ID x 25.7mm OD x 820mm L

1шт.

3

84407245

HYDRAULIC HOSE,19mm ID x 953mm L

Uni-Auxiliary Return, 953mm L

1шт.

4

76344

90 ELBOW,9/16" - 18 JIC x 9/16" - 18 ORB

ASSY, Incl 5, 6 (Qty 1)

1шт.

5

NSS

NOT SOLD SEPARAT

90° Elbow, Incl in 4

1шт.

6

9617873

O-RING,0.078" Thk x 0.468" ID, -906, Cl 6, 90 Duro

2шт.

7

9840543

90 ELBOW,90 Degree, 11/16"-16 x 9/16"-18 Adj, ORFS

ASSY, Incl 6 (Qty 1), 8, 9

1шт.

8

NSS

NOT SOLD SEPARAT

90° Elbow, Incl in 7

1шт.

9

9993141

O-RING,0.07" Thk x 0.364" ID, -12, Cl 6, 90 Duro

1шт.

10

L11541

CABLE TIE,203.2mm L, Nylon

2шт.

11

84259313

FITTING,1"7/16 - 12 ORFS x 1"5/16 - 12 ORB

ASSY, Incl 12, 13 (Qty 3), 14

1шт.

12

NSS

NOT SOLD SEPARAT

Cross, Incl in 11

1шт.

13

9824050

O-RING,0.07" Thk x 0.926" ID, -21, Cl 6, 90 Duro

4шт.

14

167268

O-RING,0.116" Thk x 1.171" ID, -916, Cl 6, 90 Duro

1шт.

15

84989413

ELBOW,90 Degree, 1 7/16"-12 ORFS x 1 7/16"-12 Fem Sw

ASSY, Incl 13 (Qty 1), 16

1шт.

16

NSS

NOT SOLD SEPARAT

90° Elbow, Incl in 15

1шт.

17

86639084

BHD LOCK NUT,1-7/16"-12, ORFS, Bulkhead

1шт.

18

86639060

UNION,1-7/16"-12 ORFS, Bulkhead

1шт.

19

814-8040

BOLT,Hex, M8 x 1.25 x 40mm, Cl 8.8

1шт.

20

120303A1

SPACER,11mm ID x 15.82mm OD x 15mm Thk

1шт.

21

86637996

CLAMP,28.6mm, Coat, 10.3mm Bolt Hole, P Type

1шт.

22

87655042

SPECIAL WASHER,8.8mm ID x 17.5mm OD x 2.2mm Thk

1шт.

23

832-10408

NUT,M8 x 1.25, Cl 8.8

1шт.

24

47674176

CONSTRUCTION DIA

Uni-Dir, Mechanical Control, Standard Dipper, Incl 1 - 23

1шт.

Valid for 580N EP Model Only

1шт.

To See Full DIA KIT Composition Look for all the Figures Where the DIA KIT P/N Is Shown

1шт.

24

47674177

CONSTRUCTION DIA

Uni-Dir, Mechanical Control, Extendable Dipper, Incl 1 - 23

1шт.

Valid for 580N EP Model Only

1шт.

To See Full DIA KIT Composition Look for all the Figures Where the DIA KIT P/N Is Shown

1шт.

24

84546989

CONSTRUCTION DIA

Uni-Dir, Mechanical Control, Extendable Dipper, Incl 1 - 23

1шт.

Valid for 580N, 580SN, 580SN WT Models Only

1шт.

To See Full DIA KIT Composition Look for all the Figures Where the DIA KIT P/N Is Shown

1шт.

24

47358915

CONSTRUCTION DIA

Uni-Dir, Pilot Control, Standard Dipper, Incl 1 - 23

1шт.

Valid for 580SN, 580SN WT Models Only

1шт.

To See Full DIA KIT Composition Look for all the Figures Where the DIA KIT P/N Is Shown

1шт.

Выбрано товаров: 0