Запчасти Case 580SN (35.525.AJ[02]) - VAR - 423083 - REMOTE VALVE (35) - HYDRAULIC SYSTEMS

Схема запчастей Case 580SN - (35.525.AJ[02]) - VAR - 423083 - REMOTE VALVE (35) - HYDRAULIC SYSTEMS
4
1
2
3
3
FIT
1:1
100%

Артикул

Название

Примечание

Количество

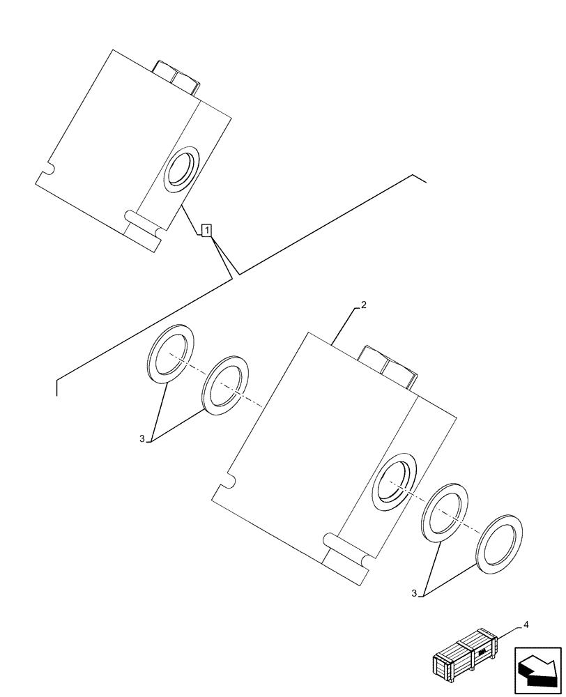
1

84422084

CHECK VALVE

ASSY, Pilot to Open, Incl 2, 3

1шт.

2

84422094

CHECK VALVE

1шт.

3

84422097

SERVICE KIT

1шт.

4

47674139

CONSTRUCTION DIA

No Auxiliary to Combo Auxiliary, Mechanical Control, Extendable Dipper, Incl 1 - 3

1шт.

Valid for 580N EP Model Only

1шт.

To See Full DIA KIT Composition Look for all the Figures Where the DIA KIT P/N Is Shown

1шт.

4

84546982

CONSTRUCTION DIA

No Auxiliary to Combo Auxiliary, Mechanical Control, Extendable Dipper, Incl 1 - 3

1шт.

Valid for 580N, 580SN, 580SN WT Models Only

1шт.

To See Full DIA KIT Composition Look for all the Figures Where the DIA KIT P/N Is Shown

1шт.

4

84546985

CONSTRUCTION DIA

No Auxiliary to Combo Auxiliary, Mechanical Control, Extendable Dipper, Incl 1 - 3

1шт.

Valid for 590SN Model Only

1шт.

To See Full DIA KIT Composition Look for all the Figures Where the DIA KIT P/N Is Shown

1шт.

4

47501542

CONSTRUCTION DIA

No Auxiliary to Combo, Pilot Control, Extendable Dipper, Incl 1 - 3

1шт.

Valid for 590SN Model Only

1шт.

To See Full DIA KIT Composition Look for all the Figures Where the DIA KIT P/N Is Shown

1шт.

4

47501547

CONSTRUCTION DIA

No Auxiliary to Combo, Pilot Control, Extendable Dipper, Incl 1 - 3

1шт.

Valid for 580N EP, 580N Models Only

1шт.

To See Full DIA KIT Composition Look for all the Figures Where the DIA KIT P/N Is Shown

1шт.

4

47662021

CONSTRUCTION DIA

No Auxiliary to Combo, Pilot Control, Extendable Dipper, Incl 1 - 3

1шт.

Valid for 580SN, 580SN WT Models Only

1шт.

To See Full DIA KIT Composition Look for all the Figures Where the DIA KIT P/N Is Shown

1шт.

4

47674141

CONSTRUCTION DIA

No Auxiliary to Combo Auxiliary, Mechanical Control, Standard Dipper, Incl 1 - 3

1шт.

Valid for 580N EP Model Only

1шт.

To See Full DIA KIT Composition Look for all the Figures Where the DIA KIT P/N Is Shown

1шт.

4

84546980

CONSTRUCTION DIA

No Auxiliary to Combo Auxiliary, Mechanical Control, Standard Dipper, Incl 1 - 3

1шт.

Valid for 580N, 580SN, 580SN WT Models Only

1шт.

To See Full DIA KIT Composition Look for all the Figures Where the DIA KIT P/N Is Shown

1шт.

4

84546983

CONSTRUCTION DIA

No Auxiliary to Combo Auxiliary, Mechanical Control, Standard Dipper, Incl 1 - 3

1шт.

Valid for 590SN Model Only

1шт.

To See Full DIA KIT Composition Look for all the Figures Where the DIA KIT P/N Is Shown

1шт.

4

84396878

CONSTRUCTION DIA

Uni-Aux to Combo Auxiliary, W/ Mechanical Control, Standard Dipper, Incl 1 - 3

1шт.

To See Full DIA KIT Composition Look for all the Figures Where the DIA KIT P/N Is Shown

1шт.

4

47501545

CONSTRUCTION DIA

No Auxiliary to Combo, Pilot Control, Standard Dipper, Incl 1 - 3

1шт.

Valid for 580N EP, 580N Models Only

1шт.

To See Full DIA KIT Composition Look for all the Figures Where the DIA KIT P/N Is Shown

1шт.

4

47661834

CONSTRUCTION DIA

No Auxiliary to Combo, Pilot Control, Standard Dipper, Incl 1 - 3

1шт.

Valid for 580N EP, 580N Models Only

1шт.

To See Full DIA KIT Composition Look for all the Figures Where the DIA KIT P/N Is Shown

1шт.

4

47501543

CONSTRUCTION DIA

No Auxiliary to Combo, Pilot Control, Standard Dipper, Incl 1 - 3

1шт.

Valid for 580N, 580SN, 580SN WT Models Only

1шт.

To See Full DIA KIT Composition Look for all the Figures Where the DIA KIT P/N Is Shown

1шт.

4

47501544

CONSTRUCTION DIA

No Auxiliary to Combo, Pilot Control, Standard Dipper, Incl 1 - 3

1шт.

Valid for 590SN Model Only

1шт.

To See Full DIA KIT Composition Look for all the Figures Where the DIA KIT P/N Is Shown

1шт.

4

47661908

CONSTRUCTION DIA

No Auxiliary to Combo, Pilot Control, Standard Dipper, Incl 1 - 3

1шт.

Valid for 580SN, 580SN WT, 590SN Models Only

1шт.

To See Full DIA KIT Composition Look for all the Figures Where the DIA KIT P/N Is Shown

1шт.

4

47662029

CONSTRUCTION DIA

Uni-Auxiliary to Combo, Pilot Control, Extendable Dipper, Incl 1 - 3

1шт.

Valid for 580N EP, 580N Models Only

1шт.

To See Full DIA KIT Composition Look for all the Figures Where the DIA KIT P/N Is Shown

1шт.

4

47662033

CONSTRUCTION DIA

Uni-Auxiliary to Combo Auxiliary, Pilot Control, Extendable Dipper, Incl 1 - 3

1шт.

Valid for 580SN, 580SN WT, 590SN Models Only

1шт.

To See Full DIA KIT Composition Look for all the Figures Where the DIA KIT P/N Is Shown

1шт.

4

84396879

CONSTRUCTION DIA

Uni-Aux to Combo Auxiliary, Mechanical Control, Extendable Dipper, Incl 1 - 3

1шт.

To See Full DIA KIT Composition Look for all the Figures Where the DIA KIT P/N Is Shown

1шт.

Выбрано товаров: 55