Запчасти Case 580SN (35.723.AA[05]) - LOADER BUCKET, CONTROL, CYLINDER (35) - HYDRAULIC SYSTEMS

Схема запчастей Case 580SN - (35.723.AA[05]) - LOADER BUCKET, CONTROL, CYLINDER (35) - HYDRAULIC SYSTEMS
2
6
7
2
3
2
2
11
14
16
4
2
9
19
1
15
2
5
2
18
21
12
17
5
8
10
7
13
2
16
2
22
20
FIT
1:1
100%

Артикул

Название

Примечание

Количество

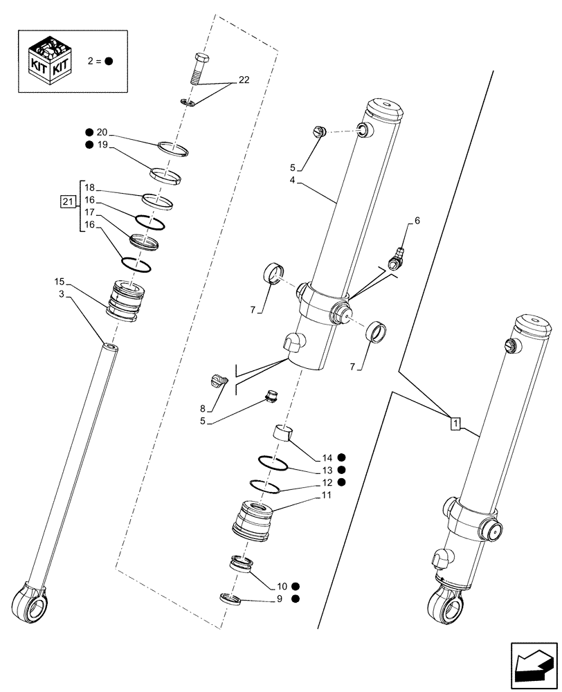
1

84421601

HYDRAULIC CYLINDER,Double Acting, 38.1mm Rod, 516.5mm Stroke

ASSY, Incl 2 - 22

2шт.

1

84421601R

REMAN-HYD CYLINDER

2шт.

1

84421601C

Return Number

2шт.

2

84257772

SEAL KIT,38.1mm Rod x 76.2mm Bore

ASSY, Incl 9, 10, 12, 13, 14, 19, 20

1шт.

3

84237943

ROD,38.1mm OD

1шт.

4

NSS

NOT SOLD SEPARAT

Barrel, Incl in 1

2шт.

5

353-780

PLUG,Sltd Hd, 7/8"-14, w/O-Ring

2шт.

6

219-55

LUBE NIPPLE,90 Degree Elbow, 1/8" - 27 NPTF

1шт.

7

G108512

BUSHING,41.2mm ID x 50mm OD x 18.7mm L

2шт.

8

G109395

SELF-TAP SCREW,Hex, #8 - 32 x 3/8"

1шт.

9

D95142

WIPER SEAL,1.5" ID x 2" OD x 0.31" Thk

2шт.

10

1542874C1

SEAL KIT,38.1mm Rod

2шт.

11

84237948

GLAND

1шт.

12

G109298

RING,69.47mm ID x 75.57mm OD x 1.4mm Thk

2шт.

13

238-5231

O-RING,0.139" Thk x 2.609" ID, -231, Cl 5, 75 Duro

2шт.

14

G102424

BUSHING,38.1mm ID x 41.17mm OD x 25.15mm L

2шт.

15

84237950

PISTON,75.57mm Bore, 40.25mm Rod, 75.95mm W

1шт.

16

NSS

NOT SOLD SEPARAT

O-Ring, Incl in 21

2шт.

17

NSS

NOT SOLD SEPARAT

Ring, Incl in 21

2шт.

18

NSS

NOT SOLD SEPARAT

Seal, Incl in 21

2шт.

19

G100449

WEAR RING,Split, 69.85mm ID x 76.2mm OD x 9.52mm Thk

1шт.

20

364376A1

RING,Locking, 68.88mm ID x 76.1mm OD x 4.74mm Thk

2шт.

21

87715781

SEAL,63.78mm ID x 76.2mm OD

Assy, Incl 16 (Qty2), 17 (Qty1), 18 (Qty1)

2шт.

22

86982435

SPECIAL BOLT,3/4" - 16 x 2-1/2"

1шт.

Выбрано товаров: 24