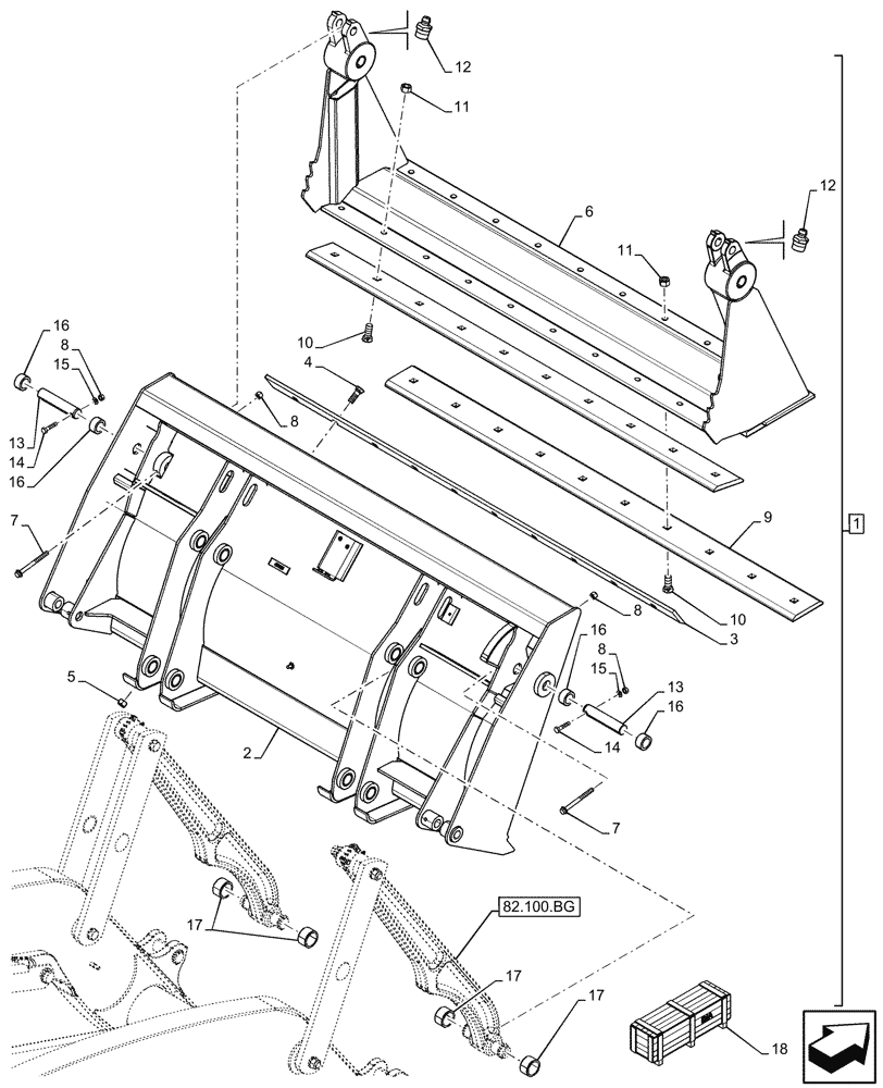
Запчасти Case 580SN (82.300.AN[02]) - BUCKET, 1YD, 82INCH/2083MM 4-IN-1 (82) - FRONT LOADER & BUCKET

Схема запчастей Case 580SN - (82.300.AN[02]) - BUCKET, 1YD, 82INCH/2083MM 4-IN-1 (82) - FRONT LOADER & BUCKET
82.100.bg
12
7
15
8
17
11
17
11
16
16
8
17
16
7
3
2
14
10
8
12
1
14
13
16
5
4
6
13
9
10
18
15
8
FIT
1:1
100%

Артикул

Название

Примечание

Количество

1

47613231

4 IN 1 BUCKET

ASSY, 1 YD - 82 Inch/2083mm, Incl 2 - 17

1шт.

See Bucket Components also in Figure 35.723.AA (03), (04), (05), 35.723.AB (02)

1шт.

2

NSS

NOT SOLD SEPARAT

Blade, Incl in 1

1шт.

3

121920A1

CUTTING EDGE,Bolt On, 10 Holes, 12.7mm W x 2080mm L

1шт.

4

20-21032

PLOW BOLT,#3, 5/8" - 11 x 2", Gr 8

10шт.

5

29-1010

NUT,5/8"-11, G8

10шт.

6

175156A1

CLAMSHELL BUCKET

Front

1шт.

7

844-10110

BOLT,Hvy Hex, M10 x 110mm, Cl 8.8

2шт.

8

832-10410

NUT,M10 x 1.5, Cl 8

4шт.

9

142300A1

CUTTING EDGE,Bolt On, 10 Holes, 19mm W x 2083mm L

2шт.

10

20-21232

PLOW BOLT,#3, 3/4" - 10 x 2", Gr 8

20шт.

11

29-1012

NUT,3/4"-10, G8

20шт.

12

219-1

LUBE NIPPLE,1/8" - 27 NPTF

2шт.

13

D51391

PIN,15mm OD x 74mm L

2шт.

14

814-10090

BOLT,Hex, M10 x 1.5 x 90mm, Cl 8.8

2шт.

15

895-11010

WASHER,11mm ID x 20mm OD x 2mm Thk

2шт.

16

D31140

BUSHING,38.33mm ID x 47.63mm OD x 25.4mm L

4шт.

17

D129264

BUSHING,40.3mm ID x 50mm OD x 28mm L

4шт.

18

47542235

CONSTRUCTION DIA

Bucket 82 Inch 4 in 1, Incl 1 - 17

1шт.

To See Full DIA KIT Composition Look for all the Figures Where the DIA KIT P/N Is Shown

1шт.

Выбрано товаров: 20