Запчасти Case 580SN (88.035.67[11]) - DIA KIT, NO AUX TO COMBO AUX, MECHANICAL CONTROLS, EXTENDABLE HOE (88) - ACCESSORIES

Схема запчастей Case 580SN - (88.035.67[11]) - DIA KIT, NO AUX TO COMBO AUX, MECHANICAL CONTROLS, EXTENDABLE HOE (88) - ACCESSORIES
15
4
13
7
8
6
18
9
84.910.0101 01
6
84.100.12
6
35.726.56 01
6
4
7
35.726.5601 01
8
10
11
84.910.0102 01
3
2
home
15
5
2
14
16
12
1
14
13
9
12
17
FIT
1:1
100%

Артикул

Название

Примечание

Количество

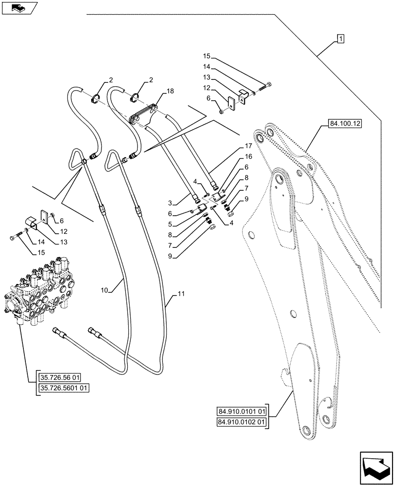
1

84546982

CONSTRUCTION DIA

NO AUX TO COMBO AUX, MECHANICAL CONTROLS, EXTENDABLE HOE, Incl 2 - 18

1шт.

See Ref. 88.035.67 [01] to 88.035.67 [10], 88.035.67 [12] to 88.035.67 [14]

1шт.

Refer to Installation Instructions for Correct Assembly Procedure

1шт.

2

214-3156

HOSE CLAMP,2-3/4" - 3-5/8", HD Worm

2шт.

3

84312502

HYD TUBE,19mm ID x 1656mm L

Port A

1шт.

4

9515003

BOLT,Hex, M10 x 1.5 x 30mm, Cl 10.9

4шт.

5

84305054

BRACKET

1шт.

6

412141

NUT,M10 x 1.5, Cl 8

6шт.

7

201-140

HYD CONNECTOR,1-3/16" - 12, Blkhd, ORFS

2шт.

8

218-1249

BHD LOCK NUT,1-3/16" - 12

2шт.

9

201-907

CAP,1-3/16" - 12 ORFS

2шт.

10

84280508

HYD TUBE,19mm ID x 2756mm L

Port A - Gray

1шт.

11

84323529

TUBE

Port B - Purple

1шт.

12

84299978

PLATE

2шт.

13

242459A1

SHIN

2шт.

14

87655046

SPECIAL WASHER,10.65mm ID x 23mm OD x 2.2mm Thk

2шт.

15

83931335

BOLT,Hex, M10 x 1.5 x 75mm, Cl 8.8

2шт.

16

84305006

BRACKET

1шт.

17

84312504

HYD TUBE,19mm ID x 1656mm L

1шт.

18

84359766

SUPPORT

1шт.

Выбрано товаров: 20