Запчасти Case 580SN (88.082.08) - DIA KIT, BUCKET, GP, 82IN QC - CASE TLB (88) - ACCESSORIES

Схема запчастей Case 580SN - (88.082.08) - DIA KIT, BUCKET, GP, 82IN QC - CASE TLB (88) - ACCESSORIES
8
9
5
6
9
4
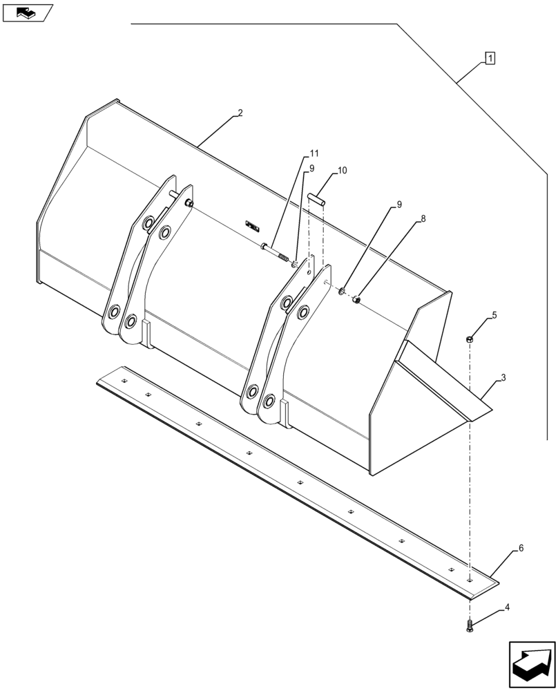
1
home
11
10
home
3
2
FIT
1:1
100%

Артикул

Название

Примечание

Количество

1

295686A1

BUCKET

GP, 82IN QC - CASE TLB, Assy, Incl 2 - 11

1шт.

2

NSS

NOT SOLD SEPARAT

Bucket, Incl in 1

1шт.

3

113457A1

CUTTING EDGE,Bolt On, 10 Holes, 12mm W x 2113mm L

Weld-on

1шт.

4

20-21232

PLOW BOLT,#3, 3/4" - 10 x 2", Gr 8

10шт.

5

29-1012

NUT,3/4"-10, G8

10шт.

6

112946A1

EDGE, CUTTING

1шт.

7

D129264

BUSHING,40.3mm ID x 50mm OD x 28mm L

8шт.

8

832-10420

NUT,M20 x 2.5, Cl 8

2шт.

9

896-11020

WASHER,22mm ID x 37mm OD x 4mm Thk

4шт.

10

142538A1

SPACER,21mm ID x 25mm OD x 105mm L

2шт.

11

828-20160

BOLT,Hex, M20 x 2.5 x 160mm, Cl 10.9

2шт.

Выбрано товаров: 11