Запчасти Case 580SN (88.100.39[01]) - DIA KIT, STABILIZER FOOT (88) - ACCESSORIES

Схема запчастей Case 580SN - (88.100.39[01]) - DIA KIT, STABILIZER FOOT (88) - ACCESSORIES
11
1
10
9
6
8
7
39.140.am (02)
2
5
4
39.140.am (01)
3
FIT
1:1
100%

Артикул

Название

Примечание

Количество

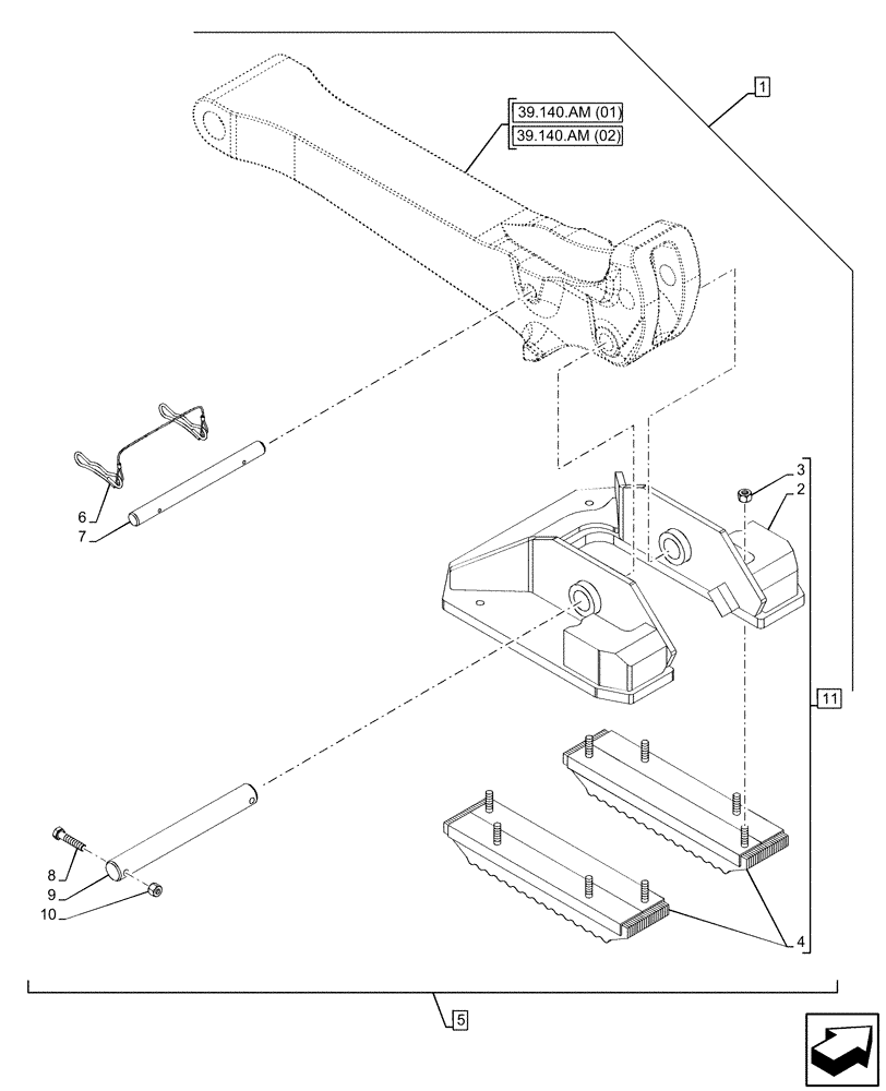
1

84276999

KIT

Flip Stabilizer, Incl 2 - 11

1шт.

2

84290984

PAD

1шт.

3

832-41312

NUT,M12 x 1.75, Cl 10

8шт.

4

47432044

PAD

2шт.

5

84250375

PAD

ASSY, Incl 2 - 4, 6 - 11

2шт.

6

446454A1

PIN,4.5mm OD x 305mm L

1шт.

7

84290956

PIVOT PIN,25.4mm OD x 300mm L

1шт.

8

814-10050

BOLT,Hex, M10 x 1.5 x 50mm, Cl 8.8

2шт.

9

D149033

PIN,38.1mm OD x 323.5mm L

1шт.

10

832-10410

NUT,M10 x 1.5, Cl 8

2шт.

11

84290975

PAD

ASSY, Incl 2 - 4

1шт.

Выбрано товаров: 11