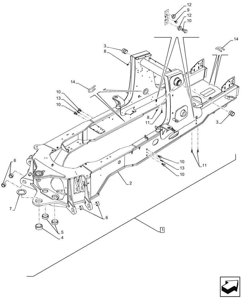
Запчасти Case 580SN WT (39.100.070) - MAIN FRAME, 4WD (39) - FRAMES AND BALLASTING

Схема запчастей Case 580SN WT - (39.100.070) - MAIN FRAME, 4WD (39) - FRAMES AND BALLASTING
8
12
10
11
14
9
10
8
5
13
10
10
2
1
6
14
13
12
4
11
3
10
7
3
6
FIT
1:1
100%

Артикул

Название

Примечание

Количество

1

47556752

FRAME

Power Tan, ASSY, Incl 2 - 14

1шт.

2

NSS

NOT SOLD SEPARAT

Frame, Incl in 1

1шт.

3

84217542

BUSHING,50.23mm ID x 60mm OD x 55mm L

Cross Tube

2шт.

4

84226810

BUSHING,80.19mm ID x 100mm OD x 38mm L

Lower

2шт.

5

114318A1

BUSHING,80.19mm ID x 90mm OD x 29.35mm L

2шт.

6

84326305

BUSHING,55.25mm ID x 67.7mm OD x 29mm L

Stab Ear

4шт.

7

220413A1

SPACER,93mm ID x 135mm OD x 5mm Thk

Backhoe, Welded Part

1шт.

8

219-55

LUBE NIPPLE,90 Degree Elbow, 1/8" - 27 NPTF

Fitting

2шт.

9

388113

BOLT,Hex, M12 x 1.75 x 16mm, Cl 8.8, Full Thd

2шт.

10

73172048

BOLT,Hex, M20 x 2.5 x 35mm, Cl 8.8, Full Thd

6шт.

11

9706687

BOLT,M12 x 1.75 x 30mm, Cl 8.8

3шт.

12

86512496

FLANGE NUT,M20 x 2.5, Flg, Cl 8

4шт.

13

300389

BOLT,M12 x 1.75 x 35mm, Cl 8.8

2шт.

14

369936A1

CLIP

12шт.

Выбрано товаров: 0