Запчасти Case 580SN WT (35.150.08[01]) - VALVE SECTION - BACKHOE, STABILIZER (WITH PILOT CONTROLS) (35) - HYDRAULIC SYSTEMS

Схема запчастей Case 580SN WT - (35.150.08[01]) - VALVE SECTION - BACKHOE, STABILIZER (WITH PILOT CONTROLS) (35) - HYDRAULIC SYSTEMS
6
4
2
3
1
5
FIT
1:1
100%

Артикул

Название

Примечание

Количество

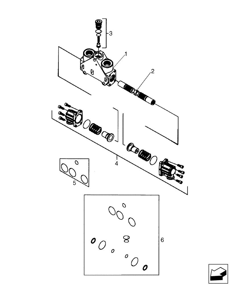
84157939

HYD VALVE SECTION

Stabilizer; Left-Hand and Right-Hand; Without Flow Sharing to Provide Open Center Performance; Incl. Ref 1 - 6

2шт.

1

NSS

NOT SOLD SEPARAT

HOUSING

1шт.

2

NSS

NOT SOLD SEPARAT

SPOOL

1шт.

3

84157941

COMPENSATOR

Component Parts Not Serviced Separately

1шт.

4

85826344

KIT,Operation

End Cap; Component Parts Not Serviced Separately

1шт.

5

85825473

SEAL KIT

Includes (4) O-Rings; Component Parts Not Serviced Separately

1шт.

6

87617657

O-RING KIT

Includes (12) Seals; Component Parts Not Serviced Separately

1шт.

Выбрано товаров: 7