Запчасти Case 580SN WT (55.201.03) - STARTER (55) - ELECTRICAL SYSTEMS

Схема запчастей Case 580SN WT - (55.201.03) - STARTER (55) - ELECTRICAL SYSTEMS
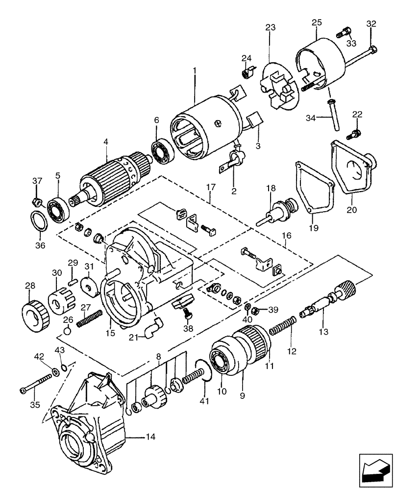
4
26
16
10
41
39
32
35
5
38
27
17
34
14
18
21
28
37
33
13
30
29
19
23
9
25
2
12
40
3
6
22
24
42
36
43
31
11
1
8
20
15
FIT
1:1
100%

Артикул

Название

Примечание

Количество

1

86992395

STARTER MOTOR,12V, 2.7kW

12 V, 2.7 kw; Inc 1 - 43

1шт.

1

86992395R

REMAN-STARTER,12V, 2.7kW

580N, 580SN 58SN01, 580SN WT, 590SN, All Tier 3

1шт.

1

86992395C

CORE-STARTER,12V, 2.7kW

Return Number

1шт.

86992395GV

STARTER MOTOR,12V, 2.7kW

12 V, 2.7 kw

1шт.

1

87438992

STATOR

Housing, Yoke; Inc 2, 3

1шт.

2

87438993

HOUSING

1шт.

3

87438925

COMMUTATOR BRUSH

2шт.

4

87438926

ARMATURE

Inc 5, 6

1шт.

5

87438927

BALL BEARING

35 mm OD

1шт.

6

87438928

BALL BEARING

30 mm OD

1шт.

87438994

CLUTCH ASSEMBLY

Inc 8 - 13

1шт.

8

87438929

KIT, STARTER MTR REP

Clutch Pinion

1шт.

9

87438930

KIT, STARTER MTR REP

Clutch Assembly; Inc 10, 11

1шт.

10

87438931

BALL BEARING

47 mm OD

1шт.

11

87438932

BALL BEARING

47 mm OD

1шт.

12

87438933

COMPRESSION SPRING

1шт.

13

87438935

SHAFT

Clutch

1шт.

14

87438937

HOUSING

1шт.

15

87438940

SOLENOID

Magnetic; Inc 16 - 22

1шт.

16

87438941

KIT, STARTER MTR REP

Terminal M

1шт.

17

87438942

KIT, STARTER MTR REP

Terminal C

1шт.

18

87438944

PLUNGER ASSY.

1шт.

19

87438946

GASKET

Solenoid Switch

1шт.

20

87438948

COVER

Solenoid

1шт.

21

87438995

BUSHING

Drain

1шт.

22

87438950

BOLT

With Washer; M5 x 14

3шт.

23

87438996

HOLDER

Brush; Inc 24

1шт.

24

87438997

SPRING

Brush Tension

4шт.

25

87438999

COVER

1шт.

26

87439000

BALL

1шт.

27

87439001

COMPRESSION SPRING

1шт.

28

87439002

GEAR

1шт.

29

87439003

ROLLER

Clutch

5шт.

30

87439004

RETAINER

1шт.

31

87439005

RETAINER

1шт.

32

87438951

BOLT

2шт.

33

87439006

CAPTIVE WASHER SCREW,Phil Pan Hd, M5 x 9.40mm

M5 x 9.4

2шт.

34

87439007

BUSHING

Drain

1шт.

35

87439008

SCREW,Sl Pan Hd, M6 x 70mm

M6 x 70

3шт.

36

87438954

WASHER

Felt

1шт.

37

87439009

NUT

M10

1шт.

38

87438956

BOLT

M5 x 10

1шт.

39

100016

NUT,M10 x 1.5, Cl 8

1шт.

40

892-11010

LOCK WASHER,M10

1шт.

41

87439010

SEAL,2.4mm Thk x 47.2mm ID

1шт.

42

87439061

WASHER

9/32 x 1/2 x 3/64

3шт.

43

87439011

O-RING

4.8 ID

3шт.

Выбрано товаров: 47