Запчасти Case 580SN WT (10.206.01[02]) - FUEL FILTER (580SN, 580SN WT, 590SN) (10) - ENGINE

Схема запчастей Case 580SN WT - (10.206.01[02]) - FUEL FILTER (580SN, 580SN WT, 590SN) (10) - ENGINE
2
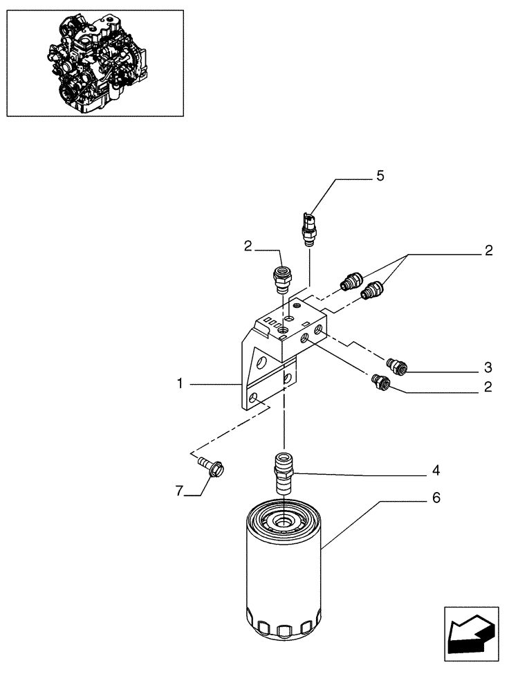
6
7
5
3
2
2
1
4
FIT
1:1
100%

Артикул

Название

Примечание

Количество

1

2855792

FILTER HEAD

Incl. 2 - 5

1шт.

2

2854563

FITTING

4шт.

3

2854564

FITTING,M12 x 1.5 - 12 H9

1шт.

4

4898877

FITTING,M20 x 1.5 - 6h M16 x 1.5 - 6h

1шт.

5

4897224

SENSOR

Temperature

1шт.

6

87803200

FUEL FILTER

1шт.

7

2854566

SCREW,Hex, M12 x 1.75 x 30mm

M12 x 30

2шт.

Выбрано товаров: 7