Запчасти Case 580SN WT (39.129.AE[02]) - VAR - 442056 - STABILIZER, FLIP-UP PROTECTION SHIELD (39) - FRAMES AND BALLASTING

Схема запчастей Case 580SN WT - (39.129.AE[02]) - VAR - 442056 - STABILIZER, FLIP-UP PROTECTION SHIELD (39) - FRAMES AND BALLASTING
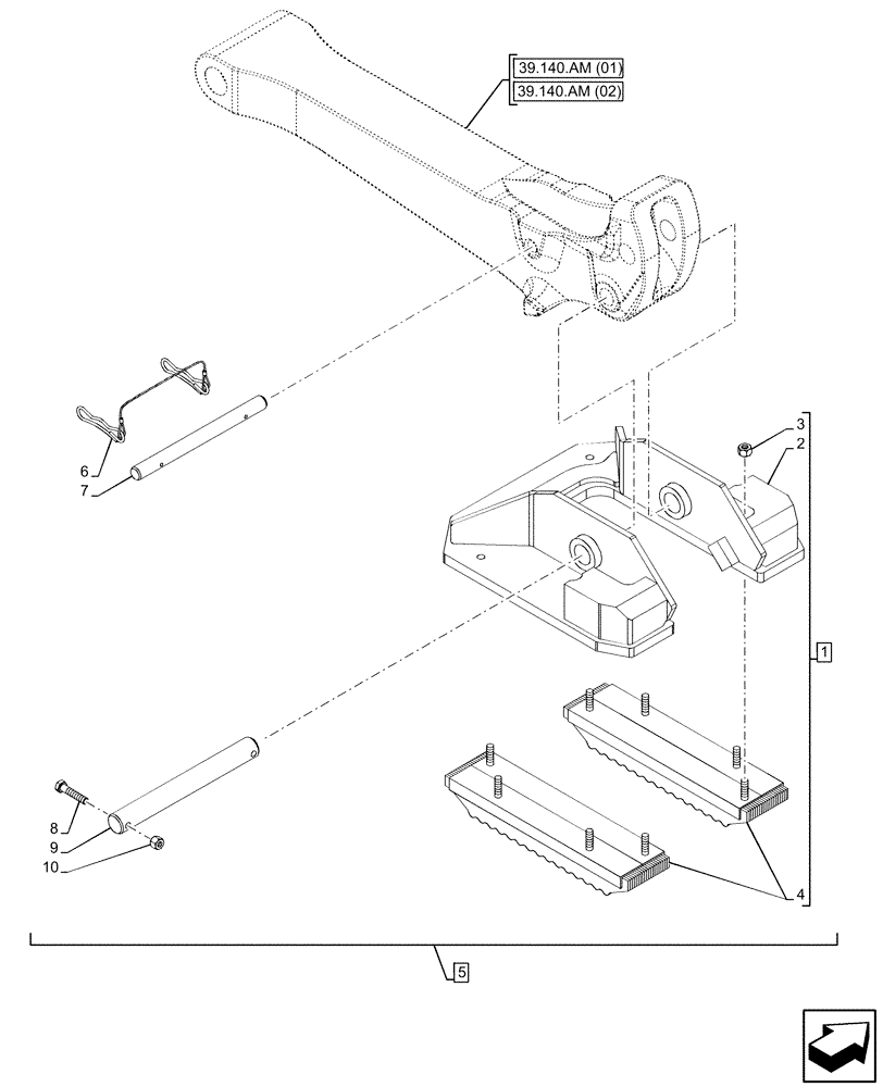
39.140.am (01)
1
8
2
10
4
5
9
6
7
3
39.140.am (02)
FIT
1:1
100%

Артикул

Название

Примечание

Количество

1

84290975

PAD

Stabilizer Flip, ASSY, Incl 2 - 4

1шт.

2

84290984

PAD

1шт.

3

832-41312

NUT,M12 x 1.75, Cl 10

8шт.

4

47432044

PAD

2шт.

5

84250375

PAD

Flip, ASSY, Incl 1 - 4, 6 - 10

1шт.

6

446454A1

PIN,4.5mm OD x 305mm L

1шт.

7

84290956

PIVOT PIN,25.4mm OD x 300mm L

1шт.

8

814-10050

BOLT,Hex, M10 x 1.5 x 50mm, Cl 8.8

2шт.

9

D149033

PIN,38.1mm OD x 323.5mm L

1шт.

10

832-10410

NUT,M10 x 1.5, Cl 8

2шт.

Выбрано товаров: 10