Запчасти Case 580SN WT (90.154.03) - VAR - 747853 - CAB - DOORS (90) - PLATFORM, CAB, BODYWORK AND DECALS

Схема запчастей Case 580SN WT - (90.154.03) - VAR - 747853 - CAB - DOORS (90) - PLATFORM, CAB, BODYWORK AND DECALS
38
21
6
24
4
33
50
32
15
11
40
43
22
32
10
33
23
36
7
25
39
31
44
8
5
14
13
27
35
8
18
17
26
30
46
2
42
12
29
47
home
45
16
19
34
37
home
7
3
28
20
41
1
49
9
FIT
1:1
100%

Артикул

Название

Примечание

Количество

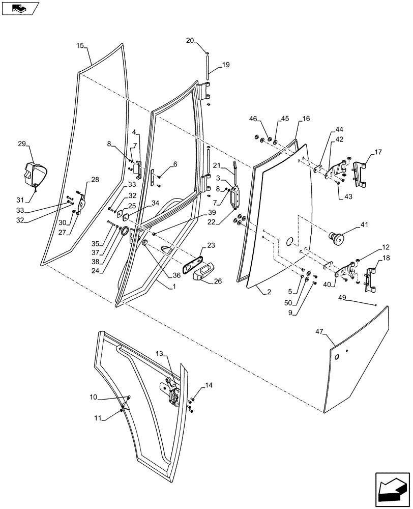
1

84224312

FRAME

Left Hand Door

1шт.

1

84224327

FRAME

Right Hand Door (Not Shown)

1шт.

2

84261868

GLASS

Left Hand Door

1шт.

2

84261869

GLASS

Right Hand Door (Not Shown)

1шт.

3

87344860

HANDLE

1шт.

4

87344859

LATCH

1шт.

5

F64198

BUMPER,4.98mm ID x 7.92mm OD x 10.21mm L

2шт.

6

140-107

SCREW,Pan HD, #10 - 24 x 3/4"

2шт.

7

195-81023

WASHER,5.94mm ID x 14.28mm OD x 1.25mm Thk

4шт.

8

F45165

SPECIAL NUT,#10-24

4шт.

9

47499504

SCREW,Oval HD 10 - 24 x .875"

2шт.

10

432431A1

BALL STUD,M8 x 1.25

1шт.

11

832-10408

NUT,M8 x 1.25, Cl 8.8

1шт.

12

391845A1

WASHER,11.1mm ID x 25.4mm OD x 1.6mm Thk

6шт.

13

84224348

LATCH

Left Hand Door

1шт.

13

84224349

LATCH

Right Hand Door (Not Shown)

1шт.

14

569-4

SCREW,Hex Soc Flat Hd, M6 x 20, 8.8

4шт.

15

390838A1

RUBBER STRIP

Left Hand Door

1шт.

15

394707A1

RUBBER STRIP

Right Hand Door (Not Shown)

1шт.

16

391850A1

SEAL, GLASS,717.8mm L

Left Hand Door

1шт.

16

394708A1

DOOR SEAL,Window, 2926mm L

Right Hand Door (Not Shown)

1шт.

17

84282063

HINGE

Left Hand Door, B Pillar Upper

1шт.

17

84282074

HINGE

Right Hand Door, B Pillar Upper (Not Shown)

1шт.

18

84282068

HINGE

Left Hand Door, B Pillar Lower

1шт.

18

84282079

HINGE

Right Hand Door, B Pillar Lower (Not Shown)

1шт.

19

84282083

PIN,10mm OD x 193.5mm L

2шт.

20

442773A1

CIRCLIP,7.42mm ID x 16.8mm OD x 0.9mm Thk

4шт.

21

87534372

ROD,7.9mm OD

1шт.

22

87534717

PUSH-ON NUT,0.625" L

1шт.

23

84224344

GASKET,43mm ID, 15.2mm ID, 223.9mm L

1шт.

24

391838A1

SEAL,50.8mm ID x 65mm OD x 6mm Thk

1шт.

25

391848A1

BACK PLATE

1шт.

26

84224317

HANDLE

1шт.

27

84224347

BRACKET, SUPPORTING

Left Hand Door

1шт.

27

84224391

BRACKET, SUPPORTING

Right Hand Door (Not Shown)

1шт.

28

391827A1

SPACER,11.1mm D

2шт.

29

84224346

COVER

Left Hand Door

1шт.

29

84224390

COVER

Right Hand Door (Not Shown)

1шт.

30

393209A1

SPRING NUT

2шт.

31

390-100

SCREW,Cross Pan Hd, #10 - 32 x 5/8"

2шт.

32

892-11006

LOCK WASHER,M6

3шт.

33

84129691

SCREW,Torx, Pan HD, M6 x 30mm, Cl 4.8

3шт.

34

391847A1

SEAL,57mm L

1шт.

35

10903921

BOLT,Hex, M6 x 65mm, Cl 8.8

1шт.

36

84224389

SPACER,38.2mm OD x 12mm L

1шт.

37

84224345

BUTTON,Black Delrin

1шт.

38

395387A1

SEALING WASHER,6.4mm ID x 22.3mm OD x 1.6mm Thk

1шт.

39

84224388

SPACER

1шт.

40

84282069

HINGE

LH

1шт.

41

84224358

LATCH

1шт.

42

84282064

HINGE

Left Hand Door, Upper

1шт.

42

84282075

HINGE

Right Hand Door, Upper (Not Shown)

1шт.

43

89509420

SCREW,FLAT, M8 x 1.25 x 12mm, Cl 8.8

4шт.

44

84224336

SHIM,35mm OD x 5mm Thk

2шт.

45

83961985

SPACER,12.6mm ID x 18mm OD x 6.5mm L

4шт.

46

84249588

SPECIAL NUT,M8 x 1.25

4шт.

47

84224316

GLASS,CAB

Left Hand Door Lower

1шт.

48

84224331

GLASS,CAB

Right Hand Door lower (Not Shown)

1шт.

49

391827A1

SPACER,11.1mm D

8шт.

50

47499507

SEALING WASHER,8.9mm ID x 15.9mm OD x 2.38mm Thk

2шт.

51

84388220

HINGE

Lower Hinge

2шт.

Выбрано товаров: 61