Запчасти Case 590SN (35.723.080) - LOADER BUCKET, CONTROLS, CYLINDER, COMPONENTS (35) - HYDRAULIC SYSTEMS

Схема запчастей Case 590SN - (35.723.080) - LOADER BUCKET, CONTROLS, CYLINDER, COMPONENTS (35) - HYDRAULIC SYSTEMS
2
4
7
12
11
2
10
18
6
2
2
16
3
2
9
13
8
14
2
17
5
15
1
2
2
7
2
FIT
1:1
100%

Артикул

Название

Примечание

Количество

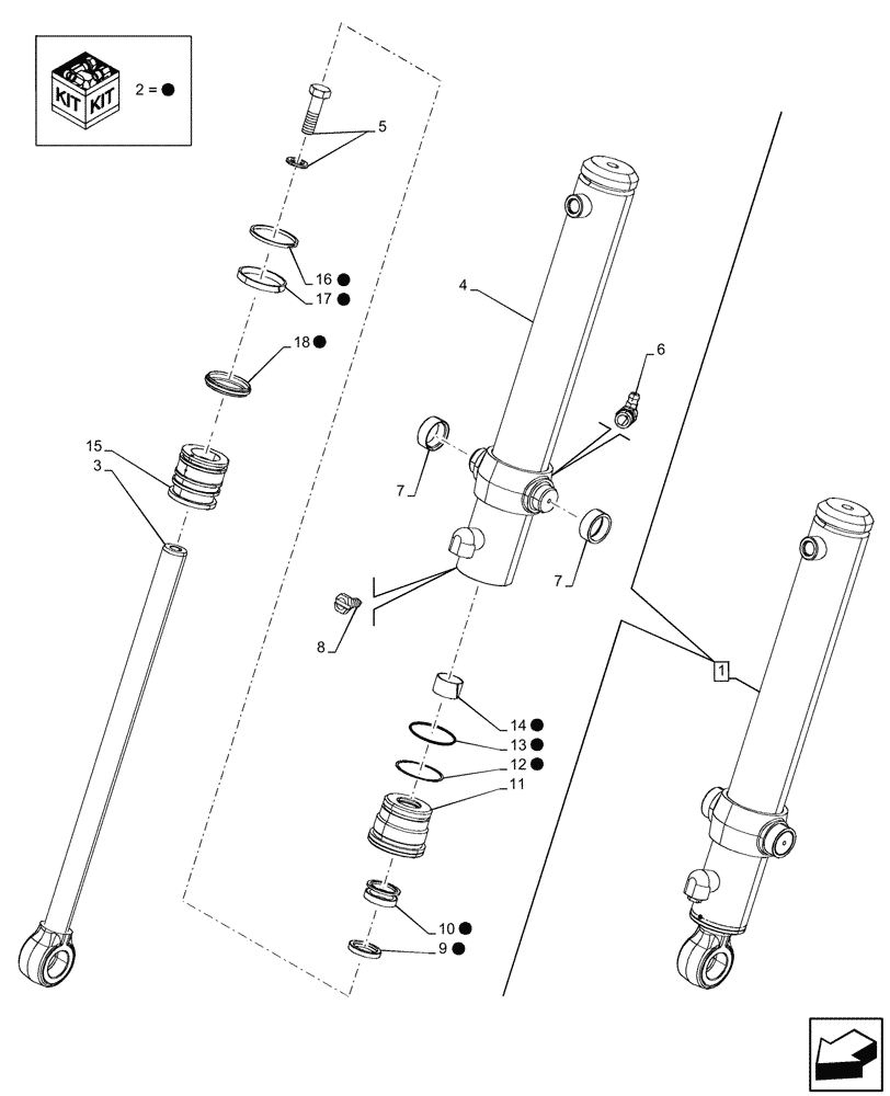
1

84421602

HYDRAULIC CYLINDER,Double Acting, 44.5mm Rod, 516.5mm Stroke

ASSY, Grey, Incl 2 - 18

1шт.

2

84257323

SEAL KIT,44.4mm Rod x 82.6mm Bore

ASSY, Loader Arm Cylinder, Incl 9, 10, 12 - 14, 16 - 18

1шт.

3

84208508

ROD,44.5mm OD x 727mm L

Chrome

1шт.

4

NSS

NOT SOLD SEPARAT

Cylinder, Incl in 1

1шт.

5

86982438

SPECIAL BOLT,Hex, 14, 1 x 3"

1шт.

6

219-55

LUBE NIPPLE,90 Degree Elbow, 1/8" - 27 NPTF

Fitting

1шт.

7

84203437

BUSHING,44.94mm ID x 55.07mm OD x 20.25mm L

2шт.

8

G109395

SELF-TAP SCREW,Hex, #8 - 32 x 3/8"

1шт.

9

D95143

WIPER SEAL,44.42mm ID x 57.17mm OD x 7.92mm Thk

1шт.

10

1542875C1

SEAL KIT,44.4mm Rod

Bucket Cylinder, Rod and Buffer

1шт.

11

84208516

GLAND

1шт.

12

G32122

BACK-UP RING,75.82mm ID x 81.92mm OD x 1.4mm Thk

1шт.

13

238-5233

O-RING,0.139" Thk x 2.859" ID, -233, Cl 5, 75 Duro

1шт.

14

G102425

BUSHING,44.45mm ID x 47.45mm OD x 25.1mm Thk

1шт.

15

84208518

PISTON ROD/GLAND,82.07mm Bore, 44.55mm Rod, 75.95mm W

1шт.

16

192330A1

SEALING RING,75.3mm ID x 82.5mm OD x 4.7mm Thk

1шт.

17

S109445

RING,82.55mm OD, Ext

1шт.

18

87715782

SEAL,82.6mm OD

ASSY

1шт.

Выбрано товаров: 18