Запчасти Case 590SN (55.302.AW[02]) - DUAL BATTERY, GROUND CABLE (55) - ELECTRICAL SYSTEMS

Схема запчастей Case 590SN - (55.302.AW[02]) - DUAL BATTERY, GROUND CABLE (55) - ELECTRICAL SYSTEMS
55.302.ag (02)
2
3
1
55.302.ax
39.100.ab (03)
39.100.ab (02)
39.100.ab (01)
FIT
1:1
100%

Артикул

Название

Примечание

Количество

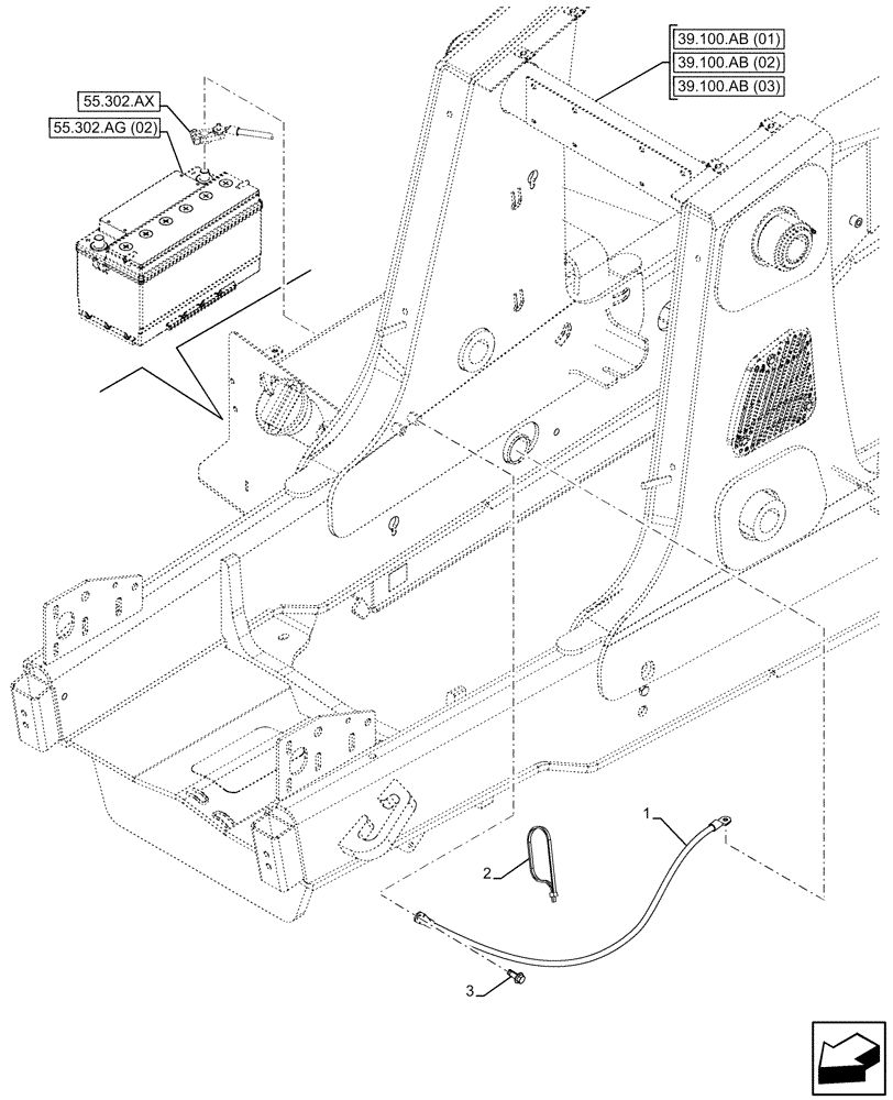
1

87610680

NEG BATTERY CABLE,1200mm L

1шт.

2

L18331

CABLE TIE,375.9mm L, Nylon, Black

1шт.

3

844-10025

BOLT,Hex, M10 x 25mm, Cl 8.8

1шт.

Выбрано товаров: 3