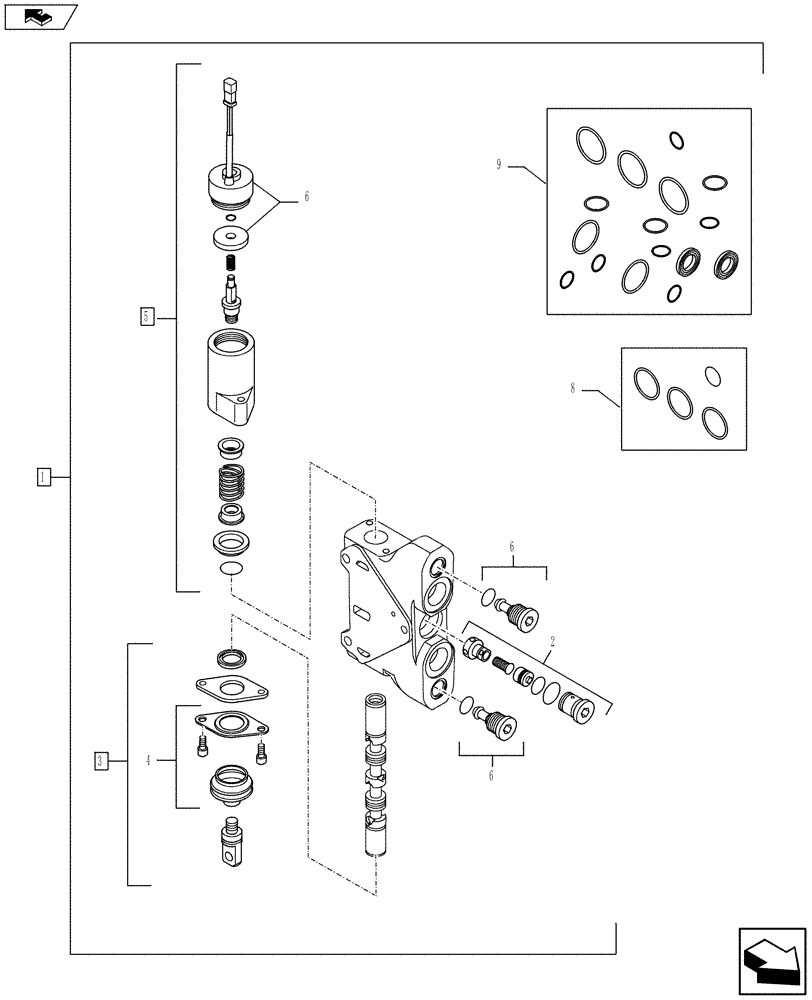
Запчасти Case 590SN (35.724.17[03]) - VAR - 747864 - VALVE - BUCKET, LOADER (PILOT CONTROLS) (35) - HYDRAULIC SYSTEMS

Схема запчастей Case 590SN - (35.724.17[03]) - VAR - 747864 - VALVE - BUCKET, LOADER (PILOT CONTROLS) (35) - HYDRAULIC SYSTEMS
6
home
6
5
8
6
1
2
3
4
9
FIT
1:1
100%

Артикул

Название

Примечание

Количество

1

84295100

HYD VALVE SECTION

Assy, Incl 2 - 9

1шт.

2

84157590

COMPENSATOR

1шт.

3

85824278

KIT

1шт.

4

85820130

BOOT

1шт.

5

87754355

SERVICE KIT

1шт.

6

87754413

SERVICE KIT

1шт.

7

84295052

VALVE PRESSURE RELIE

2шт.

8

85825473

SEAL KIT

1шт.

9

87617657

O-RING KIT

1шт.

Выбрано товаров: 9