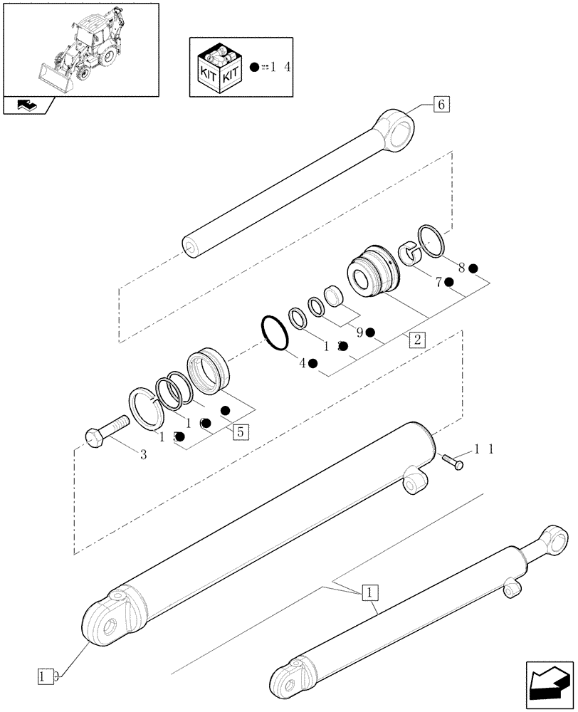
Запчасти Case 590SN (35.738.0204) - VAR - 423076 - BACKHOE HED DIPPERSTICK (4.57M) - TELESCOPIC ARM CYLINDER (35) - HYDRAULIC SYSTEMS

Схема запчастей Case 590SN - (35.738.0204) - VAR - 423076 - BACKHOE HED DIPPERSTICK (4.57M) - TELESCOPIC ARM CYLINDER (35) - HYDRAULIC SYSTEMS
14
5
9
15
14
10
14
14
16
13
2
4
11
14
14
7
14
14
14
home
1
3
8
14
6
FIT
1:1
100%

Артикул

Название

Примечание

Количество

1

84182292

HYDRAULIC CYLINDER,Double Acting, 44.4mm Rod, 1220mm Stroke

ASSY

1шт.

2

1542987C1

GLAND

ASSY

1шт.

3

86982435

SPECIAL BOLT,3/4" - 16 x 2-1/2"

1шт.

4

238-5231

O-RING,0.139" Thk x 2.609" ID, -231, Cl 5, 75 Duro

1шт.

5

G107276

GLAND

ASSY

1шт.

6

84182379

ROD,44.4mm OD x 1550.7mm L

ASSY

1шт.

7

G102425

BUSHING,44.45mm ID x 47.45mm OD x 25.1mm Thk

1шт.

8

G109298

RING,69.47mm ID x 75.57mm OD x 1.4mm Thk

1шт.

9

1542875C1

SEAL KIT,44.4mm Rod

1шт.

10

84182377

TUBE,76mm Bore Dia

ASSY

1шт.

11

G109395

SELF-TAP SCREW,Hex, #8 - 32 x 3/8"

1шт.

12

G100444

SEALING RING,Square, 5.28mm Thk x 62.61mm ID

1шт.

13

D95143

WIPER SEAL,44.42mm ID x 57.17mm OD x 7.92mm Thk

1шт.

14

86982377

SEAL KIT

1шт.

15

G100449

WEAR RING,Split, 69.85mm ID x 76.2mm OD x 9.52mm Thk

1шт.

16

G100443

SEAL,67.9mm ID x 77.1mm OD x 6.8mm Thk

1шт.

Выбрано товаров: 16