Запчасти Case 26 (006) - LOADER SUBFRAME AND RELATED PARTS

Схема запчастей Case 26 - (006) - LOADER SUBFRAME AND RELATED PARTS
FIT
1:1
100%

Артикул

Название

Примечание

Количество

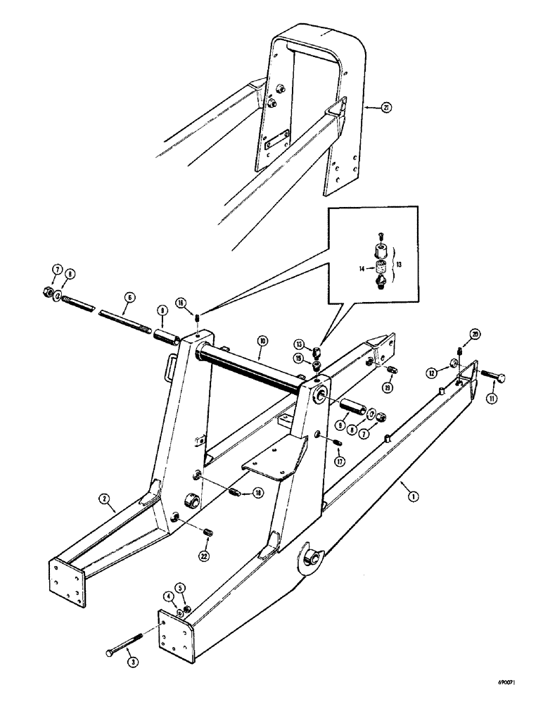
1

D44897

SUBFRAME - loader, R.H. (26 loader models only)

1шт.

1

D53936

SUBFRAME - loader, R.H. (26B loader models only before SN. 5228720

1шт.

1

D55863

SUBFRAME - loader, R.H. (26B loader models without ROPS, SN. 5228720 and after)

1шт.

1

D58001

SUBFRAME - loader, R.H. (26B loader models with ROPS SN. 5228720 and after) See page 71C for illustration

1шт.

2

D44898

SUBFRAME - loader, L.H. (Used on models without R.O.P.S.)

1шт.

2

D58002

SUBFRAME - loader, L.H. (SN. 5228720 and after) Used on models with R.O.P.S. (See page 71C for illustration)

1шт.

3

26-10128

BOLT,Hex, 5/8" - 11 x 8", Gr 8

HHCS - 5/8" - 11 NC x 8"

8шт.

4

A28084

WASHER

- special (If used)

8шт.

5

129-563

NUT,5/8"-11, G8

- hex, lock (5/8" - 11 NC)

8шт.

6

D39750

TIE-ROD

ROD - tie, subframe (Used on models with single tilt cylinder)

1шт.

6

D37713

ROD

- tie, subframe (Used on models with duel tilt cylinders)

1шт.

7

230-41116

NUT,1"-8, GA

NUT - hex, lock (1" - 8 NC)

2шт.

8

D37732

WASHER,26.99mm ID x 63.5mm OD x 3.57mm Thk

- special

2шт.

9

D39749

BUSHING

- spacer (Used with D39750 tie rod only)

2шт.

9

D52278

SLEEVE,25.78mm ID x 47.63mm OD x 121.41mm L

- spacer (Used with D37713 tie rod only) 26 and 26B loader

2шт.

10

D58167

TUBE

- subframe (26 loader)

1шт.

10

D37772

TUBE

- subframe (26B loader) Not shown (When stock is exhausted, order D58166 tube for service)

1шт.

10

D58166

TUBE

- subframe (26B loader) Not shown

1шт.

11

13-1236

BOLT,Hex, 3/4" - 10 x 2-1/4", Gr 5

(Model 26 loader only) Hex, 3/4"-10 x 2 1/4", G5

4шт.

11

13-1228

BOLT,Hex, 3/4" - 10 x 1-3/4", Gr 5

(Model 26B loader only) Hex, 3/4"-10 x 1 3/4", G5

4шт.

12

230-41112

LOCK NUT,3/4"-10, GA

NUT - hex., lock (3/4" - 10 NC)

4шт.

13

31543

BREATHER

- hydraulic reservoir, Includes: Ref. 14

1-2шт.

14

T14011

ELEMENT

- breather, if serviceable

1шт.

15

221-62

REDUCER,Hex, 1" x 1/4" NPT

BUSHING - pipe (1" NPT x 1/4" NPT)

1шт.

16

221-12

PLUG,Sq Hd, 1/4"-18

- pipe, square head (1/4" NPT) If used

1шт.

17

221-13

PLUG,Sq Hd, 3/8"-18

- pipe, square head (3/8" NPT)

1шт.

18

221-15

PLUG,Sq Hd, 3/4"-14

- pipe, square head (3/4" NPT) If used

1шт.

19

221-16

PLUG,Sq Hd, 1"-11 1/2 NPTF

- pipe, square head (1" NPT) If used

1шт.

20

221-12

PLUG,Sq Hd, 1/4"-18

- pipe, square head (1/4" NPT)

1шт.

21

D45416

GUARD - radiator (Gas models only)

1шт.

D45415

GUARD - radiator (Diesel models only)

1шт.

22

221-35

DRAIN PLUG,Sq Soc, 3/4"-14 NPTF

PLUG - pipe, socket head (3/4" NPT)

2шт.

Выбрано товаров: 32