Запчасти Case 3400 (084) - SELF LEVELING VALVE (35) - HYDRAULIC SYSTEMS

Схема запчастей Case 3400 - (084) - SELF LEVELING VALVE (35) - HYDRAULIC SYSTEMS
7
9
8
3
6
2
1
4
5
FIT
1:1
100%

Артикул

Название

Примечание

Количество

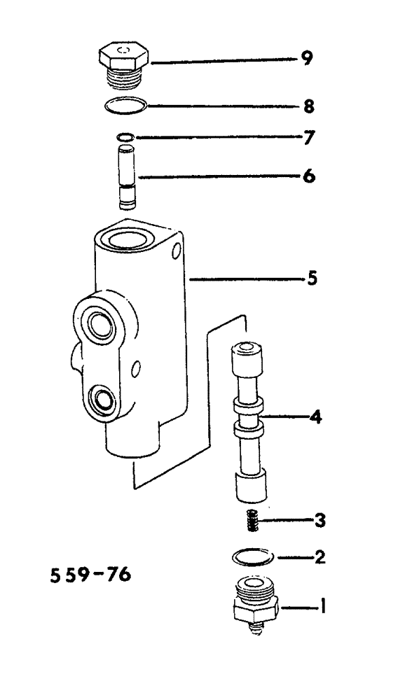
1

546685R1

SPARE PART

PLUG, valve

1шт.

2

368269R1

O-RING,0.116" Thk x 0.924" ID, -912, Cl 6, 90 Duro

TUBE, 3/4 OD

1шт.

3

534749R1

SPARE PART

SPRING, valve spool return

1шт.

4

SPOOL, valve not serviced separately, furnish valve ASSEMBLY

1шт.

5

BODY, valve not serviced separately, furnish valve ASSEMBLY

1шт.

6

545761R1

VALVE

PLUNGER, spool

1шт.

7

352219R1

O-RING,0.07" Thk x 0.239" ID, -10, Cl 5, 75 Duro

1/4 x 3/8 x 1/16

1шт.

8

368269R1

O-RING,0.116" Thk x 0.924" ID, -912, Cl 6, 90 Duro

TUBE, 3/4 OD

1шт.

9

534747R1

SPARE PART

1шт.

Выбрано товаров: 9