Запчасти Case 3400 (008) - RADIATOR AND CONNECTIONS (10) - ENGINE

Схема запчастей Case 3400 - (008) - RADIATOR AND CONNECTIONS (10) - ENGINE
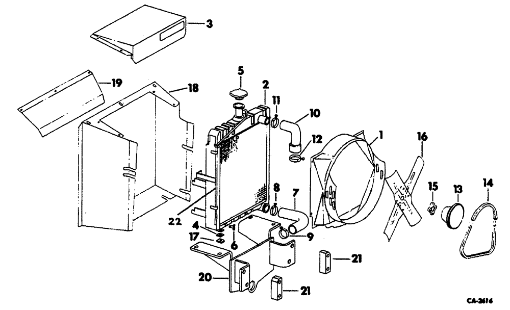
14
10
11
3
15
22
13
12
7
5
18
4
21
21
16
8
20
19
9
17
2
1
6
FIT
1:1
100%

Артикул

Название

Примечание

Количество

1

527474R2

HOUSING

FAN

1шт.

179791

BOLT,Hex, 1/4" - 20 x 1/2", Gr 5

4шт.

95-11028

WASHER,1/4"

9/32 x 5/8 x .051

4шт.

2

3113084R1

SPARE PART

RADIATOR ASSEMBLY synchromesh drive tractors, 00523/UP, including, Serial Range: 503-510

1шт.

2

528144R1

SPARE PART

RADIATOR ASSEMBLY synchromesh drive tractors, up to/00522, excluding 503 to 510, order radiator 311304 RI together W1/4 PLUG 3113083 Rl -

1шт.

2

3113085R1

SPARE PART

RADIATOR ASSEMBLY hydrostatic drive tractors

1шт.

180151

BOLT,Hex, 7/16" - 14 x 1 3/4", Gr 5

hex HD CAP, 7/16-14 x 1-3/4 ZND

4шт.

NLS

NO LONGER SERVICED

hex, 7/16-14 ZND

4шт.

496-21047

WASHER

WASHER, 15/32 x 59/64 JC 051 C Z

8шт.

120383

LOCK WASHER,Helical Spring, 7/16"

4шт.

3

536515R1

SPARE PART ENCLOSURE ASSEMBLY, DUCT

1шт.

470-1258

SCREW,Slotted Pan Hd, 1/4"-20 x 1/2"

1/4-20 x 1/2 C Z SLT PAN HD MACH

7шт.

4

47240D

PAD

radiator

4шт.

23042R1

WASHER

.531 C 1 x .027

16шт.

5

532029R1

CAP ASSY.

radiator pressure

1шт.

6

3113083R1

PLUG, DRAIN

00523/UP, including, Serial Range: 503-510

1шт.

6

531184R1

VALVE

plug drain up to/00522, excluding, Serial Range: 503-510

1шт.

7

402189R1

LARGE HOSE,1.50" ID, 2.00" ID x 10.39", SAE 20R2

HOSE,LARGE Outlet (Diesel Engine Tractors)

1шт.

8

705935R91

HOSE CLAMP

1шт.

9

706078R91

CLAMP

hose diesel engine tractors

1шт.

10

402191R1

HOSE,1.50" ID, 2.00" ID x 8.98", SAE 10R2

Inlet (Diesel Engine Tractors)

1шт.

11

706078R91

CLAMP

HOSE

1шт.

12

705935R91

HOSE CLAMP

1шт.

13

401124R2

PULLEY

water pump diesel engine tractors

1шт.

14

534310R1

V-BELT,0.50" W x 63.00" L

Fan, Diesel engine tractors

1шт.

15

403335R1

SPACER

fan diesel engine tractors

2шт.

16

82797R91

NO LONGER SERVICED

BLADE ASSEMBLY, fan synchromesh transmission tractors, optional W/86 897 R91

1шт.

16

86897R91

FAN

BLADE ASSEMBLY, fan synchromesh transmission tractors, optional W/82 797 R91

1шт.

433065

BOLT,Hex, 1/4" - 28 x 3 1/2", Gr 5

4шт.

103319

LOCK WASHER,1/4"

4шт.

16

370700R91

BLADE

ASSEMBLY, fan synchromesh transmission tractors, for tractors w/backhoe

1шт.

22256R1

WASHER

9/32 x 1/2 x 16 GA

4шт.

16

370700R91

BLADE

ASSEMBLY, fan hydrostatic drive tractors

1шт.

433065

BOLT,Hex, 1/4" - 28 x 3 1/2", Gr 5

4шт.

103319

LOCK WASHER,1/4"

4шт.

17

536342R1

SPACER

4шт.

18

536510R1

SPARE PART

DUCT ASSEMBLY, air

1шт.

19

537287R1

SPARE PART ASSEMBLY, air

1шт.

20

536169R1

SPARE PART MOUNTING ASSEMBLY, radiator and pin diesel engine tractors

1шт.

223517

BOLT,Hex, 5/8" - 11 x 3", Gr 8

hex HD CAP, 5/8-11 x 3 ZND

4шт.

21

537178R1

SPACER

BLOCK, spacer diesel engine tractors block

2шт.

22

3115522R1

HOSE

PIPE, overflow 29-1/2

1шт.

Выбрано товаров: 42