Запчасти Case 3400 (051) - NEUTRAL SAFETY SWITCH (55) - ELECTRICAL SYSTEMS

Схема запчастей Case 3400 - (051) - NEUTRAL SAFETY SWITCH (55) - ELECTRICAL SYSTEMS
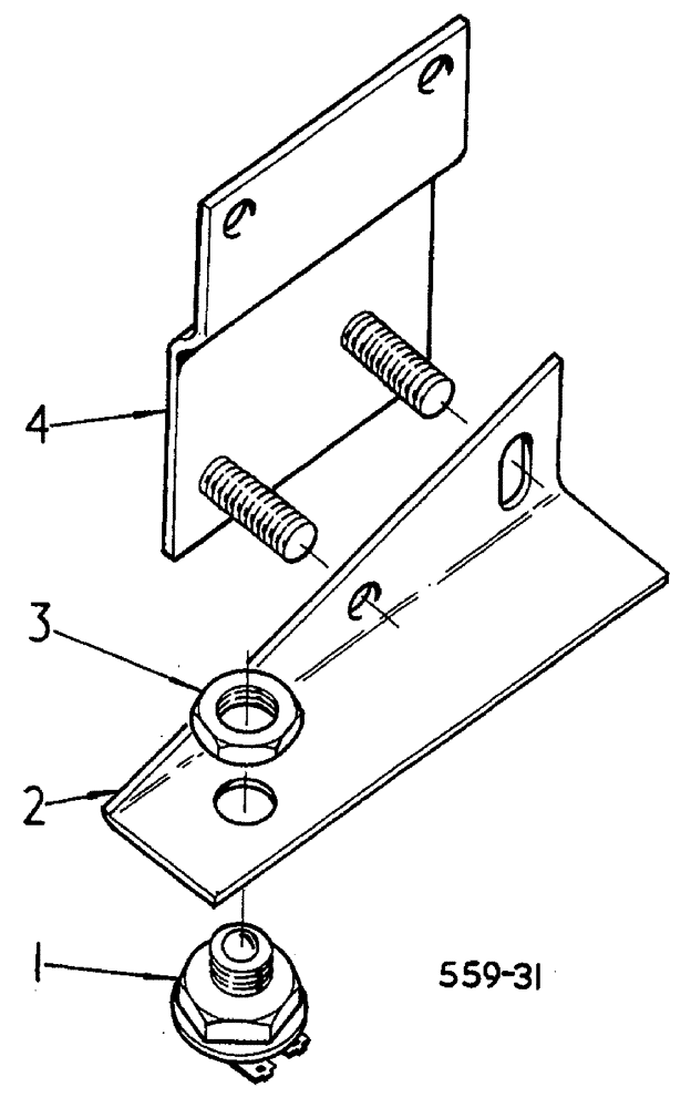
2
1
3
4
FIT
1:1
100%

Артикул

Название

Примечание

Количество

1

532682R1

SWITCH

ASSEMBLY, neutral starting hydrostatic drive tractors

1шт.

1

3072122R93

SWITCH

neutral safety synchromesh drive tractors

1шт.

2

537512R1

BRACKET

switch mounting synchromesh drive tractors

1шт.

179838

BOLT,Hex, 3/8" - 16 x 7/8", Gr 5, Full Thd

2шт.

103321

LOCK WASHER,3/8"

4шт.

95-11041

WASHER,3/8"

(13/32 x 13/16 x .051)

2шт.

3

3112570R1

NUT

safety start, synchromesh drive tractors

1шт.

4

537510R1

BRACKET

ASSEMBLY, safety starting switch synchromesh drive, synchromesh drive tractors

1шт.

Выбрано товаров: 8