Качественные детали и логистика
Оригинальные и аналоговые запчасти с доставкой по России, Казахстану и Беларуси
©2022 PartSell ООО "Система" ИНН 2463123282 ОГРН 1212400004838
Центральный офис: г. Красноярск, Академика Киренского, д.87, пом.4
Телефон: 8 (800) 777-65-74 Email: zakaz@partsell.ru
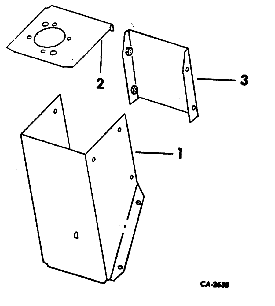
(137) - STEERING SUPPORT
№
Артикул
Название
Примечание
Количество
1
536480R1
SPARE PART steering
1шт.
2
536481R1
BRACKET
BRACKET ASSEMBLY, steering valve MTG
535183R2
SELF-TAP SCREW
washer HD CAP
8-Decшт.
3
536483R1
SPARE PART ASSEMBLY, steering support
Выбрано товаров: 0