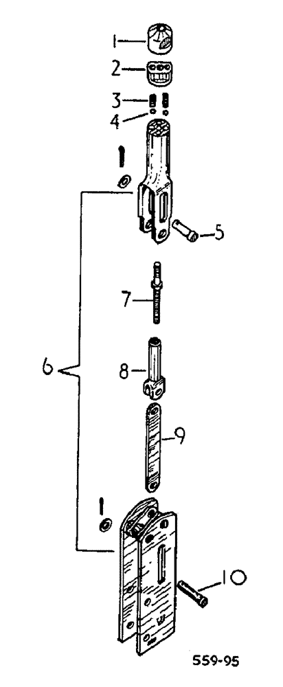
Запчасти Case 3400 (002) - HAND BRAKE LEVER ASSEMBLY (33) - BRAKES & CONTROLS

Схема запчастей Case 3400 - (002) - HAND BRAKE LEVER ASSEMBLY (33) - BRAKES & CONTROLS
6
7
10
5
8
4
9
1
3
2
FIT
1:1
100%

Артикул

Название

Примечание

Количество

1

3045968R1

KNOB

outer half

1шт.

2

3045965R1

KNOB

inner half

1шт.

3

3045967R1

SPRING

2шт.

4

3045966R1

BALL

2шт.

5

3111364R1

PIN

short

1шт.

3045975R1

PIN

split

1шт.

3045971R1

WASHER

1шт.

6

3045964R91

SPARE PART ASSEMBLY SOB

1шт.

7

not serviced

1шт.

8

not serviced

1шт.

9

3045969R1

LINK

1шт.

10

3045973R1

PIN

long

1шт.

3045975R1

PIN

split

1шт.

3045971R1

WASHER

1шт.

Выбрано товаров: 14