Запчасти Case 3400 (014) - PUMP SERVO CYLINDER (35) - HYDRAULIC SYSTEMS

Схема запчастей Case 3400 - (014) - PUMP SERVO CYLINDER (35) - HYDRAULIC SYSTEMS
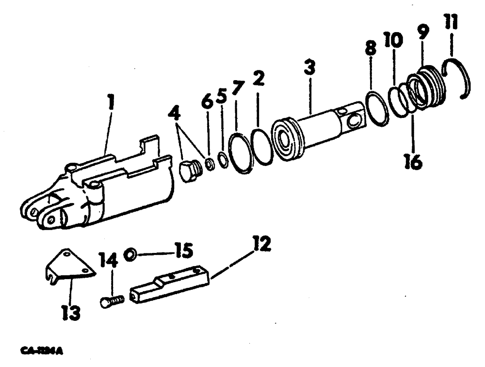
11
9
8
6
15
5
10
16
1
13
2
14
4
7
3
12
FIT
1:1
100%

Артикул

Название

Примечание

Количество

1

401079R1

BODY

1шт.

2

379141R1

O-RING,0.103" Thk x 1.362" ID, -126, Cl 5, 75 Duro

1-3/8 x 1-9/16 x 3/32

1шт.

3

401080R1

PISTON

1шт.

4

535851R11

PLUG

ASSEMBLY, fixed orifice

1шт.

5

570828R1

O-RING,0.087" Thk x 0.644" ID, -908, Cl 6, 90 Duro

TUBE, 1/2 OD

1шт.

6

529960R1

STRAINER ELEMENT

1шт.

7

405311R1

RING

piston sealing

1шт.

8

328138R1

O-RING,0.103" Thk x 1.612" ID, -130, Cl 5, 75 Duro

1-5/8 x 1-13/16 x 3/32

1шт.

9

401084R1

GUIDE

1шт.

10

405310R1

RING

guide sealing inner

1шт.

11

388968R1

ELECTRICAL WIRE

WIRE retaining

1шт.

12

401086R11

NO LONGER SERVICED

BLOCK ASSEMBLY, variable orifice ADJ

1шт.

20154R1

DOWEL,5/16" x 7/8"

PIN, 5/16 x 7/8

1шт.

13

401087R1

BRACKET

ADJ block

1шт.

13-510

BOLT,Hex, 5/16" - 18 x 5/8", Gr 5, Full Thd

2шт.

14

396108R2

BOLT,Hex, 5/16" - 24 x 1.125"

ADJ block

1шт.

15

392285R1

O RING, 5/8 x 3/4 x 1/16

1шт.

16

347070R1

O-RING,1.301" ID x 0.07" Width

1-15/16 x 1-7/16 x 1/16

1шт.

401088R91

STRIPPER PACKAGE

pump servo cylinder o ring and seal service consists of ""'£ ""1 o ring 379141R1

1шт.

Выбрано товаров: 19