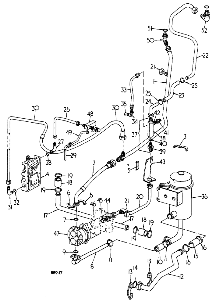
Запчасти Case 3400 (066) - POWER SUPPLY AND MULTIPLE CONTROL VALVE (35) - HYDRAULIC SYSTEMS

Схема запчастей Case 3400 - (066) - POWER SUPPLY AND MULTIPLE CONTROL VALVE (35) - HYDRAULIC SYSTEMS
19
31
4
17
2
7
25
19
22
40
38
6
10
37
28
9
45
32
36
49
35
21
51
17
29
41
44
19
1
3
19
8
30
27
23
46
13
47
16
43
42
33
18
26
5
6
34
13
20
48
52
25
18
30
12
14
50
24
11
16
11
21
39
15
FIT
1:1
100%

Артикул

Название

Примечание

Количество

1

537575R1

TUBE

ASSEMBLY, loader pressure

1шт.

2

537316R1

HOSE

HOSE ASSEMBLY, pump pressure

1шт.

3

536409R1

SPARE PART TUBE, upper

1шт.

179821

BOLT,Hex, 5/16" - 18 x 1 3/8", Gr 5

1шт.

103320

LOCK WASHER,5/16"

1шт.

4

VALVE ASSEMBLY, multiple control refer to multiple control valve and connections

1шт.

5

536411R1

CLAMP

rear pressure tube

1шт.

180087

SPRING

hex HD CAP, 5/16-18 x 2 ZND

1шт.

80681

LOCK WASHER,5/16"

1шт.

6

295698R1

CLAMP

flange, 1 IN split

2шт.

179841

BOLT,Hex, 3/8" - 16 x 1 1/4", Gr 5

4шт.

103321

LOCK WASHER,3/8"

4шт.

7

343906R1

O-RING,0.139" Thk x 1.296" ID, -219, Cl 6, 90 Duro

1-5/16 x 1-9/16 x 1/8

1шт.

8

536412R1

TUBE

ASSEMBLY, pump section

1шт.

179861

BOLT,Hex, 7/16" - 14 x 1 3/8", Gr 5

SCREW, hex HD CAP, 7/16-14 x 1-3/8

4шт.

103322

LOCK WASHER,7/16"

4шт.

9

707253

O RING, 1-1/2 x 1-3/4 x 1/8

1шт.

10

3116505R1

HOSE

HOSE, suction

1шт.

11

279027R91

CLAMP,#28, 1.31/2.25 Type F Worm

hose

2шт.

12

536415R1

TUBE

filter suction up to 3400/548, INCL. 556, excluding note 1

1шт.

12

67196C1

SPARE PART filter suction, 3400/549 up, less 556, see note 1

1шт.

12

67195C1

SPARE PART filter suction, 1 hydrostatic

1шт.

13

301844R11

FLANGE, split, 1-1/2 IN

2шт.

179885

BOLT,Hex, 1/2" - 13 x 1 1/2", Gr 5

4шт.

103323

LOCK WASHER,1/2"

4шт.

14

255088R1

O-RING

O RING, 1-7/8 x 2-1/8 x 1/8

1шт.

15

536417R1

HYDRAULIC HOSE,1.75" ID x 4.00", SAE 30R2 Type 2

Filter Suction

1шт.

16

279038R91

HOSE CLAMP,#32, 1.56/2.50 Type F Worm

HOSE

2шт.

17

536418R1

TUBE

PUMP SUCTION, small

1шт.

18

3116505R1

HOSE

HOSE, suction

2шт.

19

279027R91

CLAMP,#28, 1.31/2.25 Type F Worm

HOSE

4шт.

20

536419R1

SPARE PART ASSEMBLY, by pass valve to dump, up to 3400/548, INCL 556, excluding note 1

1шт.

20

67192C1

SPARE PART ASSEMBLY, by pass return

1шт.

67194C1

HOSE

cooler return at pump

1шт.

279024R91

HOSE CLAMP,#24, 1.06/2.00 Type F Worm

HOSE, 3400/549 up, less 556, see note 1

2шт.

21

9403371

CAP,37 Degree, 9/16"-18

TUBE flared, hydrostatic drive tractors, 37 DEG HYD, up to 3400/545, INCL 556, 9/16-18

1шт.

22

537576R2

TUBE

ASSEMBLY, loader return

1шт.

364847R1

SPRING

flow control valve

1шт.

23

537789R2

HYDRAULIC HOSE,1.00" ID x 11.00", SAE 100R3

Loader Return to By Pass Valve

1шт.

24

539092R1

SPARE PART ASSEMBLY, elbow

1шт.

25

279024R91

HOSE CLAMP,#24, 1.06/2.00 Type F Worm

HOSE

2шт.

26

545667R1

SPARE PART

TUBE ASSEMBLY, pressure lub

1шт.

27

9410977

ELBOW,90 Degree, 3/4"-16, 37 Degree x 3/4"-16, O-Ring

TUBE flared, 37 DEG HYD ADJ STR THD 90 DEG, 3/4-16

1шт.

28

570828R1

O-RING,0.087" Thk x 0.644" ID, -908, Cl 6, 90 Duro

TUBE, 1/2 OD

1шт.

29

536436R1

SPARE PART ASSEMBLY, steering dump

1шт.

30

536438R3

HOSE

TUBE ASSEMBLY, power beyond

1шт.

31

9411106

ELBOW

TUBE flared, 37 DEG HYD ADJ STR THD 45 DEG, 7/8-14

1шт.

32

364885R1

O-RING,0.097" Thk x 0.755" ID, -910, Cl 6, 90 Duro

TUBE, 5/8 OD

1шт.

33

536454R1

TUBE

cooler by-pass valve to clutch housing hydrostatic drive tractors

1шт.

34

9410978

ELBOW,90 Degree, 7/8"-14, 37 Degree x 7/8"-14, O-Ring

TUBE flared, hydrostatic drive tractors, 37 DEG HYD ADJ STR THD 90 DEG, 7/8-14

1шт.

35

364885R1

O-RING,0.097" Thk x 0.755" ID, -910, Cl 6, 90 Duro

TUBE, 5/8 OD hydrostatic drive tractors

1шт.

36

535904R92

SPARE PART

FILTER ASSEMBLY for components, see list of parts under details, oil filter ASSEMBLY

1шт.

37

547436R91

SPARE PART

VALVE ASSEMBLY, oil cooler by pass synchromesh transmission tractors, consists of: 1 body

1шт.

38

547437R1

SPARE PART

BODY, oil cooler by pass valve

1шт.

39

547442R1

FITTING

bulkhead

1шт.

40

296247R1

O-RING,16-1, 90 Duro, 1.171" ID x .116" Thk

TUBE fitting bulkhead, 1 OD

1шт.

41

9410204

HYD CONNECTOR,7/8"-14, 37 Degree x 7/8"-14, O-Ring

TUBE flared, short swivel hydrostatic drive tractors, 37 DEG HYD, 7/8-14

1шт.

41

548545R1

UNION

SPARE PART TUBE flared, short swivel synchromesh transmission tractors, 37 DEG HYD, 7/8-14

1шт.

42

364885R1

O-RING,0.097" Thk x 0.755" ID, -910, Cl 6, 90 Duro

TUBE fitting, 5/8

1шт.

43

537516R1

SPARE PART by pass valve support

1шт.

179833

BOLT,Hex, 3/8" - 16 x 1/2", Gr 5, Full Thd

2шт.

9403298

BHD LOCK NUT,Blkhd, 1 5/16"-12

LOCK, bulkhead union, 1-5/16-12

1шт.

557278R1

SPARE PART 1-11/32 x 2 x 16 GA

1шт.

44

574018R1

HYD CONNECTOR,1 5/16"-12, 37 Degree x 1 1/16"-12, O-Ring

TUBE flared, short swivel reducer up to 3400/545, INCL 556, 37 DEG HYD, 1-5/16

1шт.

44

9410361

PLUG

O RING boss, STR THD, 3400/546 up, less 556, 1-1/16-12

1шт.

45

368269R1

O-RING,0.116" Thk x 0.924" ID, -912, Cl 6, 90 Duro

TUBE, 3/4 OD

1шт.

46

HOUSING ASSEMBLY, pump mounting refer to side mounted hydraulic pump drive

1шт.

47

547301R92

PUMP

side mounted, 13.5 GPM optional w/546 686 R93

1шт.

47

546686R93

HYDRAULIC PUMP

PUMP, side mounted, 13.5 GPM optional w/547301R92, for components, see list of parts under DE

1шт.

48

527477R92

VALVE

ASSEMBLY lub regulator

1шт.

570828R1

O-RING,0.087" Thk x 0.644" ID, -908, Cl 6, 90 Duro

TUBE, 1/2 OD

1шт.

9410285

ELBOW,90 Degree, 1 5/16"-12, 37 Degree x 1 5/16"-12, 37 Degree Fem Sw

1шт.

49

537980R1

SPARE PART ASSEMBLY, pressure lub return

1шт.

50

9410980

ELBOW,90 Degree, 1 3/16"-12, 37 Degree x 1 3/16"-12, O-Ring

TUBE flared, 37 DEG HYD ADJ STR THD 90 DEG, 1-3/16-12

1шт.

51

297459R1

O-RING,0.116" Thk x 1.048" ID, -914, Cl 6, 90 Duro

TUBE, 7/8 OD

2шт.

52

537753R1

ELBOW

reducing

1шт.

66222C1

GUARD

ASSEMBLY, angle

1шт.

413-828

BOLT,Hex, 1/2" - 13 x 1-3/4", Gr 5

2шт.

note 1, including serial/515-521, 531-833. 541, 543, 544, 546, 547

1шт.

Выбрано товаров: 0