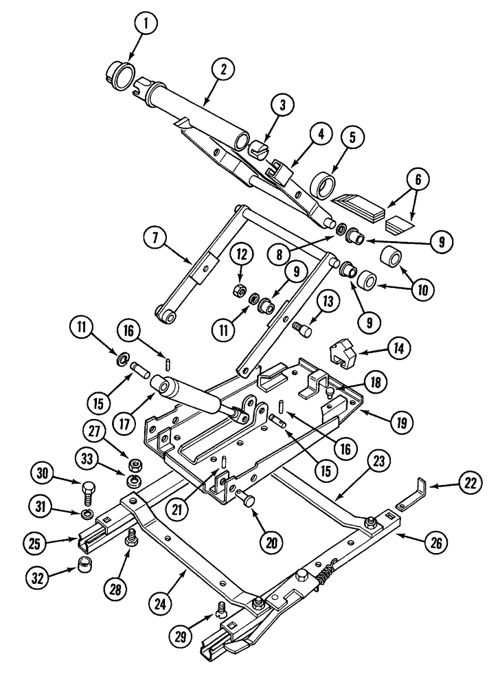
Запчасти Case 380B (9-20) - SUSPENSION SEAT - BOSTROM (09) - CHASSIS

Схема запчастей Case 380B - (9-20) - SUSPENSION SEAT - BOSTROM (09) - CHASSIS
33
7
32
25
30
19
15
17
20
18
9
16
4
27
23
1
14
26
10
21
28
16
13
11
3
9
2
12
29
15
11
8
31
24
9
22
6
5
FIT
1:1
100%

Артикул

Название

Примечание

Количество

1536395C1

SEAT

ASSEMBLY - PVC covered, with 2 inch seat belt (Continued from Figure 9-18)

1шт.

3121421R92

SEAT

ASSEMBLY - deluxe suspension (PVC) (Continued from Figure 9-18)

1шт.

1

3123316R1

BUSHING

BEARING - center lever

1шт.

2

3123315R1

LEVER

center

1шт.

3

3220529R1

RETAINER

center lever

1шт.

4

3220519R1

STOP

limit

2шт.

5

3109331R1

FLANGED BEARING

Flange

1шт.

6

3129922R1

BAR

torsion (Set of 5)

1шт.

7

3220517R1

ARM

LEVER -outer

1шт.

8

538565R1

WASHER

suspension scissors

4шт.

9

3123319R1

BUSHING

BEARING - suspension scissors

4шт.

10

3123320R1

ROLLER BEARING

suspension scissors

4шт.

11

892-11008

LOCK WASHER,8mm ID

2шт.

12

934109R1

NUT

hex, 4 mm - 0.7

2шт.

13

3123321R1

PIVOT PIN

2шт.

14

3220516R1

STOP

BUMPER - rubber

1шт.

15

538578R1

PIN

damper

2шт.

16

538579R1

PIN, ROLL

roll

2шт.

17

3123329R1

SHOCK ABSORBER

DAMPER - complete

1шт.

18

3123308R1

BUMPER

BUTTON

2шт.

19

3220524R1

PLATE

base

1шт.

20

3123318R1

PIVOT PIN

2шт.

21

3125165R1

PIN, ROLL

3 mm

2шт.

22

3123376R1

BRACKET

stop

1шт.

23

3123306R1

BRACKET

STRAP - mounting, rear

1шт.

24

3123305R1

BRACKET

STRAP - mounting, front

1шт.

25

3123304R1

RAIL

slide, right (Free)

1шт.

26

3123303R1

RAIL

slide, left (Adjustable)

1шт.

27

43362

NUT,M8 x 1.25, Cl 10

4шт.

28

628-8016

BOLT,Hex, M8 x 1.25 x 16mm, Cl 10.9, Full Thd

2шт.

29

931237R1

HEX SOC SCREW,Flat Hd, CSK, M8 x 20mm, Cl 8.8

countersunk, 8 mm - 1.25 x 20 mm

4шт.

30

3123563R1

SCREW

fillister, Phillips, 5/16 NC x 1-1/2 inch

4шт.

31

3123564R1

LOCK WASHER

5/16 inch

4шт.

32

3123562R1

SPACER

seat

4шт.

33

112723

LOCK WASHER,5/16"

4шт.

17084R1

LOCK PIN,1/8" x 1 1/4", Slotted

Not illustrated

2шт.

Выбрано товаров: 36