Запчасти Case 380B (9-26) - ROLL OVER PROTECTION FRAME - 2 POST ROPS (09) - CHASSIS

Схема запчастей Case 380B - (9-26) - ROLL OVER PROTECTION FRAME - 2 POST ROPS (09) - CHASSIS
6
1
10
1
9
12
12
11
4
10
7
14
1
1
13
5
3
2
11
8
FIT
1:1
100%

Артикул

Название

Примечание

Количество

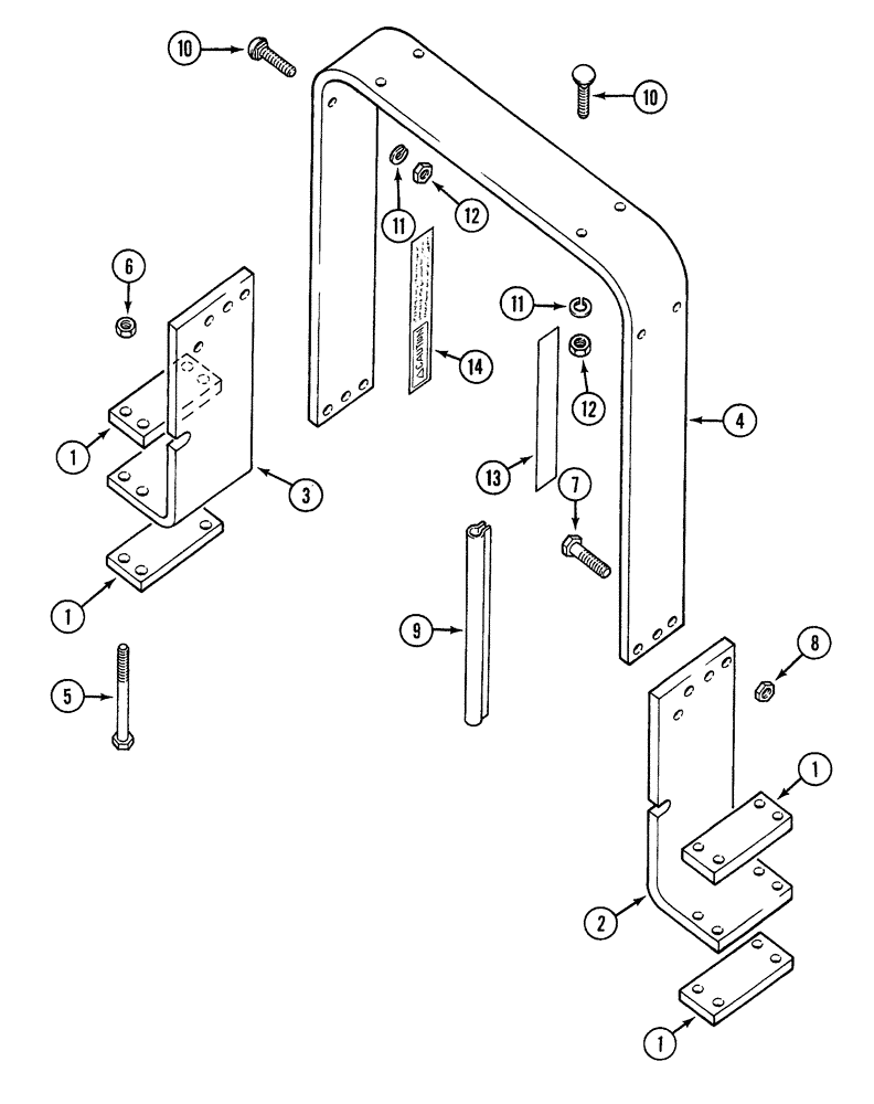
1

118309C1

PLATE

clamp

4шт.

2

118306C1

SUPPORT

lower mounting, left hand

1шт.

3

118307C1

SUPPORT

lower mounting, right hand

1шт.

4

118377C2

FRAME

BAR - roll over protection structure

1шт.

5

1500799C1

BOLT,Spcl, Hex, 3/4" - 10 x 10", Type 8

hex, 3/4 NC x 10 inch, grade 8

8шт.

6

429-1012

NUT,3/4"-10, G8

hex, NC

8шт.

7

118425C2

BOLT

hex, 7/8 NC x 2-3/4 inch

6шт.

8

429-1014

NUT,7/8"-9, G8

hex, 7/8 inch NC, grade 8

6шт.

9

1286896C1

STRIP

CHANNEL - conduit, ROPS bar trim (Used with canopy)

2шт.

10

434-832

CARRIAGE BOLT,Sht Sq Nk, 1/2" - 13 x 2", Gr 5

1/2 NC x 2 inch (Used with canopy)

8шт.

11

80679

LOCK WASHER,1/20.507 CST ZND

Used with canopy

8шт.

12

425-108

NUT,1/2" - 13, Gr 5

(Used with canopy)

8шт.

13

70571C1

DECAL

ROPS caution instruction (English)

1шт.

13

70572C1

DECAL

ROPS caution instruction (French)

1шт.

14

70773C1

DECAL

seat belt caution instructions (English)

1шт.

14

70774C1

DECAL

seat belt caution instructions (French)

1шт.

Выбрано товаров: 16