Запчасти Case 380B (4-12) - ROPS CANOPY WIRING AND LIGHTS (03) - FUEL SYSTEM

Схема запчастей Case 380B - (4-12) - ROPS CANOPY WIRING AND LIGHTS (03) - FUEL SYSTEM
18
10
9
1
1
3
6
5
4
12
2
16
7
8
15
17
7
14
11
13
6
1
FIT
1:1
100%

Артикул

Название

Примечание

Количество

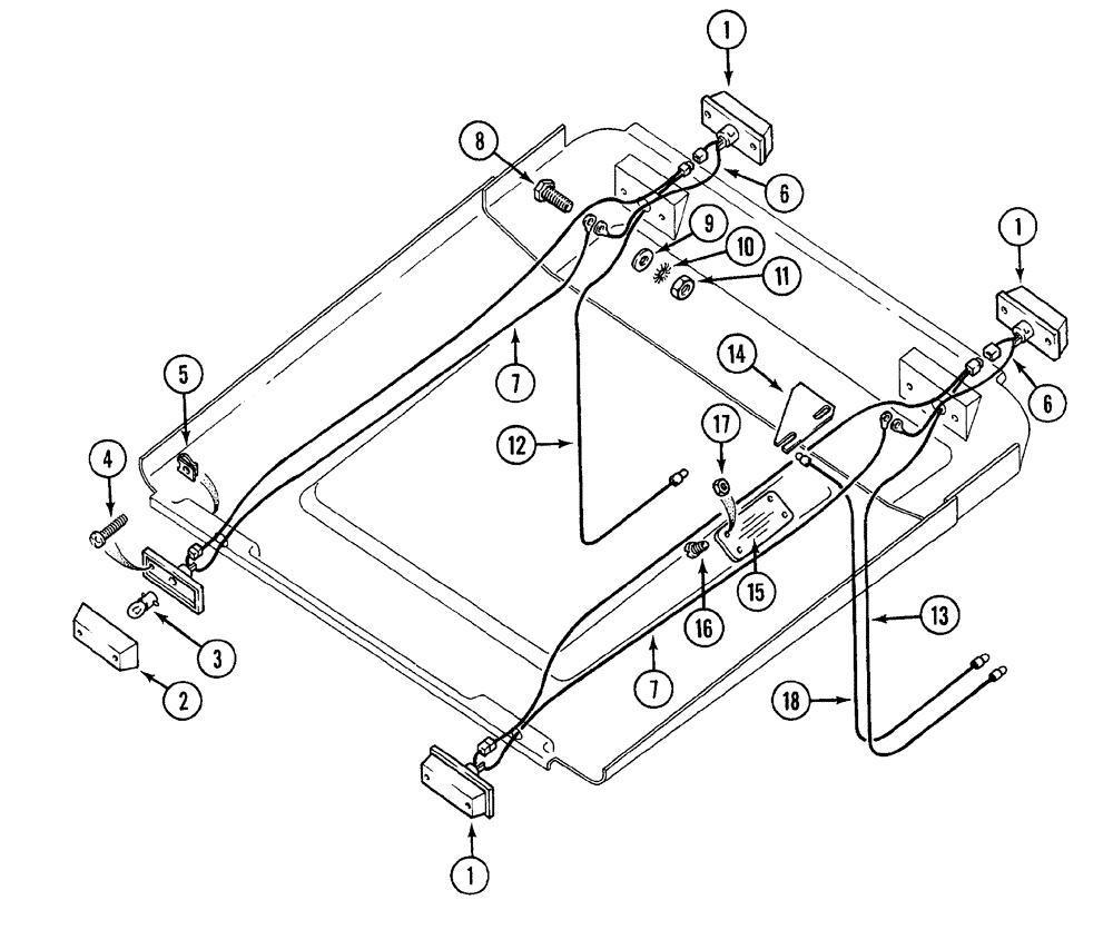
1

130882C91

LAMP

LIGHT ASSEMBLY - warning

4шт.

2

130883C1

LENS

amber

1шт.

3

9417866

BULB,C6, #1156, 12.8V

1шт.

4

260-13540

SELF-TAP SCREW,Cross Pan Hd, #10 x 2 1/2"

8шт.

5

684322R1

SPRING NUT

spring, U-type

8шт.

6

111264C3

CABLE

ASSEMBLY - ground, rear lights

2шт.

7

118219C1

CABLE

ASSEMBLY - ground, front lights

2шт.

8

276-1458

SELF-TAP SCREW,Hex Hd, #10 x 1/2"

2шт.

9

495-31022

WASHER,#10

2шт.

10

493-41020

LOCK WASHER,Ext Tooth, #10

2шт.

11

225-14110

NUT,#10-24

2шт.

12

118384C1

CABLE

ASSEMBLY - warning light, right hand

1шт.

13

118383C1

CABLE

ASSEMBLY - warning light, left hand

1шт.

14

118522C1

BRACKET

radio mounting

1шт.

15

118258C1

PANEL

GRILLE - speaker

2шт.

16

342-10812

SCREW,Cross Oval Hd, #8-32 x 3/4"

8шт.

17

193-1002

NUT,Keps, #8 - 32, w/ Ext Tooth LW

Hex

8шт.

18

118523C2

CABLE

radio power

1шт.

Выбрано товаров: 0