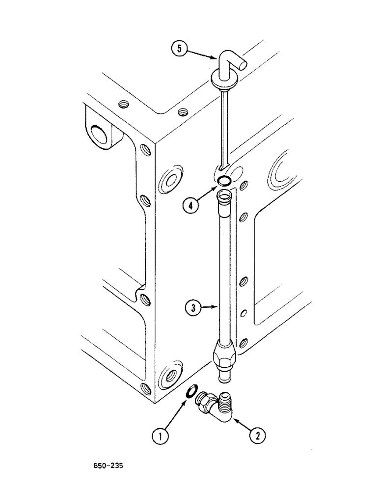
Запчасти Case 380B (6-194) - REAR FRAME OIL LEVEL GAUGE (06) - POWER TRAIN

Схема запчастей Case 380B - (6-194) - REAR FRAME OIL LEVEL GAUGE (06) - POWER TRAIN
5
3
2
4
1
FIT
1:1
100%

Артикул

Название

Примечание

Количество

1

364839R1

O-RING,0.078" Thk x 0.468" ID, -906, Cl 6, 90 Duro

6-1, 90 Duro, .468" ID x .078" Thk, 3/8 OD tube

1шт.

2

9410976

ELBOW,90 Degree, 9/16"-18, 37 Degree x 9/16"-18, O-Ring

- 90 degree adjustable, 3/8 inch OD tube

1шт.

3

528059R1

TUBE

- rear frame oil level gauge

1шт.

4

352219R1

O-RING,0.07" Thk x 0.239" ID, -10, Cl 5, 75 Duro

- 1/4 ID x 1/16 inch

1шт.

5

528054R2

DIPSTICK

GAUGE - rear frame oil level

1шт.

Выбрано товаров: 5