Запчасти Case 380B (8-250) - REGULATOR VALVE, FORWARD AND REVERSE, P.I.N. 18001 AND AFTER (08) - HYDRAULICS

Схема запчастей Case 380B - (8-250) - REGULATOR VALVE, FORWARD AND REVERSE, P.I.N. 18001 AND AFTER (08) - HYDRAULICS
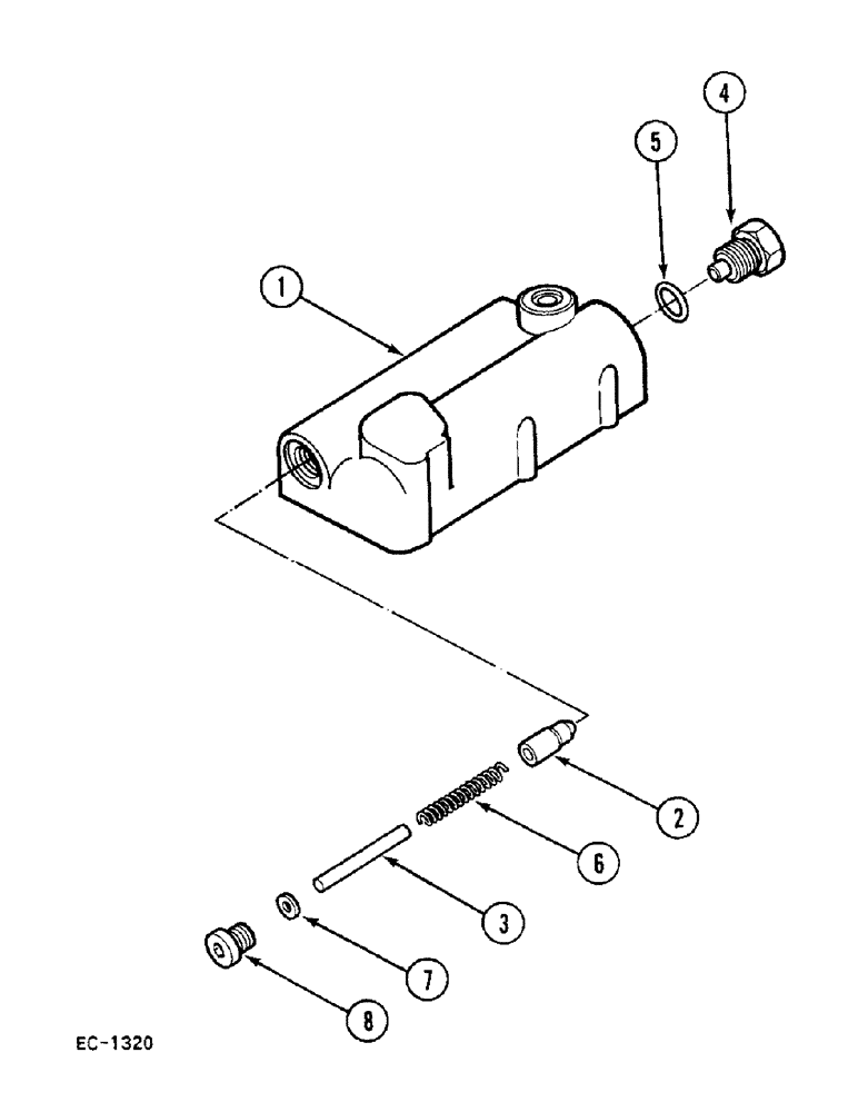
1
5
3
7
8
2
4
6
FIT
1:1
100%

Артикул

Название

Примечание

Количество

94121C92

VALVE

- pressure regulator, Includes: Ref. 1 - 8

1шт.

1

NSS

NOT SOLD SEPARAT

BODY

1шт.

2

399882R1

POPPET

1шт.

3

399881R2

PIN

- pressure regulator valve

1шт.

4

86398C2

PLUG

1шт.

5

364839R1

O-RING,0.078" Thk x 0.468" ID, -906, Cl 6, 90 Duro

6-1, 90 Duro, .468" ID x .078" Thk, 3/8 OD tube

1шт.

6

88426C1

SPRING

1шт.

7

1954071C1

WASHER

WASHER - spring retainer

1шт.

8

1954070C1

PLUG

1шт.

Выбрано товаров: 9