Запчасти Case 380B (9-284) - REAR FENDERS, CROWN TYPE (09) - CHASSIS/ATTACHMENTS

Схема запчастей Case 380B - (9-284) - REAR FENDERS, CROWN TYPE (09) - CHASSIS/ATTACHMENTS
4
9
5
3
1
5
4
7
8
11
2
10
6
10
FIT
1:1
100%

Артикул

Название

Примечание

Количество

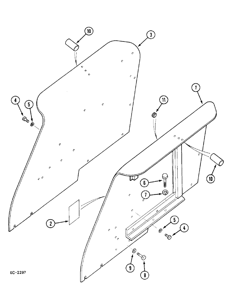
1

538639R3

FENDER ASSY.

FENDER - left, lo-crown, Includes: Ref. 2

1шт.

2

321-6771

DECAL

- warning instructions

1шт.

3

530002R6

FENDER ASSY.

FENDER - right, lo-crown

1шт.

4

88574

BOLT,Hex, 5/16" - 18 x 1/2", Gr 5, Full Thd

rear top cover, hitch controls cover Hex, 5/16"-18 x 1/2", G5, Full Thd

8шт.

5

80681

LOCK WASHER,5/16"

WASHER, LOCK, , Rear top cover, Hitch controls cover 5/16"

8шт.

6

181163

SCREW,Hex, 1/2" - 13 x 1 1/4", Gr 5

BOLT - hex, 1/2 NC x 1-1/4 inch, axle carrier

4шт.

7

116121

LOCK WASHER,1/2"

WASHER, LOCK, , Axle carrier 1/2"

4шт.

8

180118

BOLT,Hex, 3/8" - 16 x 5/8", Gr 5

- hex, 3/8 NC x 5/8 inch, park brake bracket

1шт.

9

120382

LOCK WASHER,Helical Spring, 3/8"

WASHER, LOCK, , Park brake bracket 3/8"

1шт.

10

3125820R1

SLEEVE

- PVC

2шт.

11

531625R1

GROMMET

2шт.

Выбрано товаров: 11