Запчасти Case 380B (9-298) - ROPS CANOPY HEADLINER TRIM (09) - CHASSIS/ATTACHMENTS

Схема запчастей Case 380B - (9-298) - ROPS CANOPY HEADLINER TRIM (09) - CHASSIS/ATTACHMENTS
3
10
6
11
4
8
7
9
11
1
12
2
9
5
12
10
FIT
1:1
100%

Артикул

Название

Примечание

Количество

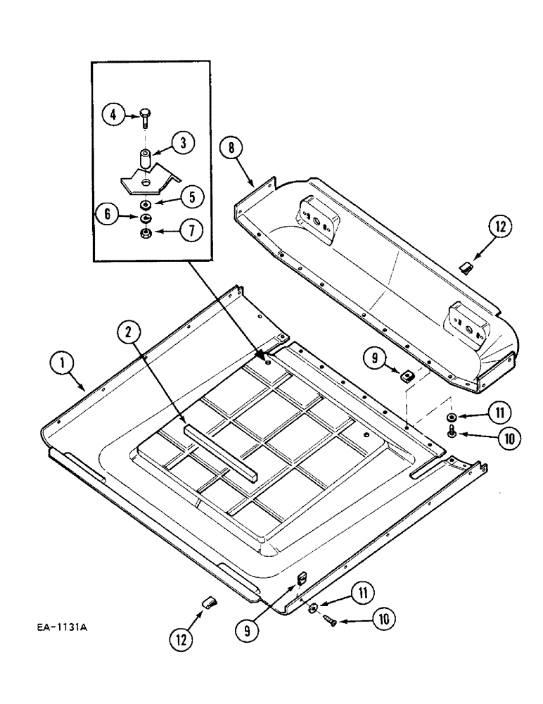
1

118381C1

PANEL

HEADLINER - front

1шт.

2

NSS

NOT SOLD SEPARAT

STRIP - vibration damper, 15 inch (Cut from 73213C2)

1шт.

2

73213C2

FILLING STRIP

GASKET - foam, bulk length, 4 foot

1шт.

3

12302N

SPACER,1/4" Pipe x 15/16"

- pipe, 15/16 inch

2шт.

4

280112

BOLT,Hex, 1/4" - 20 x 1-1/2", Gr 5

2шт.

5

120386

WASHER

- flat, 0.312 x 0.734 x 0.051 inch

2шт.

6

492-11025

LOCK WASHER,1/4"

WASHER, LOCK, 1/4"

2шт.

7

120375

NUT,Hex, 1/4" - 20, Gr 5

2шт.

8

118359C1

PANEL

- headliner rear

1шт.

9

684322R1

SPRING NUT

- u-type spring

25шт.

10

24396R1

SELF-TAP SCREW,Cross Pan Hd, #10 x 3/4"

SCREW - phillips tapping, no. 10 x 3/4 inch

25шт.

11

120391

WASHER,#10

- plain, no. 10

25шт.

12

118515C1

CLIP

- U-type, speed, canopy with sheared front and rear edges

18шт.

Выбрано товаров: 13