Запчасти Case 380B (9-304) - THREE POINT HITCH UPPER LINK (09) - CHASSIS/ATTACHMENTS

Схема запчастей Case 380B - (9-304) - THREE POINT HITCH UPPER LINK (09) - CHASSIS/ATTACHMENTS
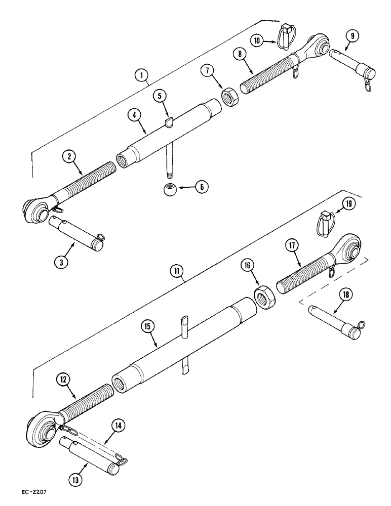
11
4
3
12
2
6
9
1
8
19
10
13
14
17
16
18
15
7
5
FIT
1:1
100%

Артикул

Название

Примечание

Количество

1

528085R91

UPPER LINK

LINK - upper, Includes: Ref. 2 - 10

1шт.

2

527998R1

SCREW

- upper, left-hand thread

1шт.

3

528084R1

HITCH PIN

PIN - Category II, upper link

1шт.

4

528002R1

TURNBUCKLE

1шт.

5

65958C2

ROD

- turnbuckle handle

1шт.

6

3048296R1

BUTTON

KNOB - turnbuckle rod

1шт.

7

426899

NUT,Jam, 1"-8, G5

- hex, lock, 1 inch

1шт.

8

528000R1

SCREW

- upper, right-hand thread

1шт.

9

528081R1

PIN ASSY.

PIN - Category I, upper link

1шт.

10

533189R1

PIN

- quick attaching

1шт.

11

1328188C91

LINK

- upper, Includes: Ref. 12 - 19

1шт.

12

1328189C1

SCREW,M27 x 3, LH Threads

SCREW - LH thread, upper link

1шт.

13

1328194C1

PIN

- upper link

1шт.

14

1328193C1

CHAIN (AG)

CHAIN - upper link

2шт.

15

1328191C1

TURNBUCKLE

1шт.

16

905709R1

THIN NUT,Thin, M27 x 3

1шт.

17

1328190C1

SCREW,M27 x 3

SCREW - RH thread, upper link

1шт.

18

1328192C1

PIN

- upper link

1шт.

19

1328218C1

LINCH PIN,11mm OD

- link

1шт.

Выбрано товаров: 19