Запчасти Case 380B (3-68) - FUEL INJECTION NOZZLE HOLDER (03) - FUEL SYSTEM

Схема запчастей Case 380B - (3-68) - FUEL INJECTION NOZZLE HOLDER (03) - FUEL SYSTEM
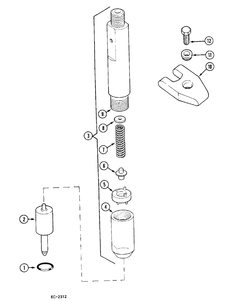
1
7
9
6
12
4
2
3
8
11
5
10
FIT
1:1
100%

Артикул

Название

Примечание

Количество

1

717203R1

O-RING,4mm Thk x 17mm ID, 72 Duro

- injection nozzle

3шт.

2

3218248R2

NOZZLE CAP

NOZZLE - injection

3шт.

3

3218247R92

HOLDER

- injection nozzle, Includes: Ref. 4 - 9

3шт.

4

3218388R1

NUT

- nozzle cap

1шт.

5

3218387R1

SPACER

1шт.

6

3218386R2

SPACER

PIN - pressure

1шт.

7

3218385R2

SPRING

- pressure

1шт.

8

3218657R1

SHIM

- 0.500 MM

1шт.

8

3218658R1

SHIM

- 0.525 MM

1шт.

8

3218659R1

SHIM

- 0.550 MM

1шт.

8

3218660R1

SHIM

- 0.575 MM

1шт.

8

3218661R1

SHIM

- 0.600 MM

1шт.

8

3218662R1

SHIM

- 0.700 MM

1шт.

8

3218663R1

SHIM

- 0.800 MM

1шт.

8

3218664R1

SHIM

- 0.900 MM

1шт.

9

3218389R1

BODY

1шт.

10

3218128R1

RETAINER

- fuel injection nozzle

3шт.

11

3218129R1

WASHER

- retainer bolt

3шт.

12

24477R1

BOLT,Hex, 5/16" - 18 x 1", Gr 8

3шт.

Выбрано товаров: 19