Запчасти Case 380B (4-102) - BATTERY AND CONNECTIONS (04) - ELECTRICAL SYSTEMS

Схема запчастей Case 380B - (4-102) - BATTERY AND CONNECTIONS (04) - ELECTRICAL SYSTEMS
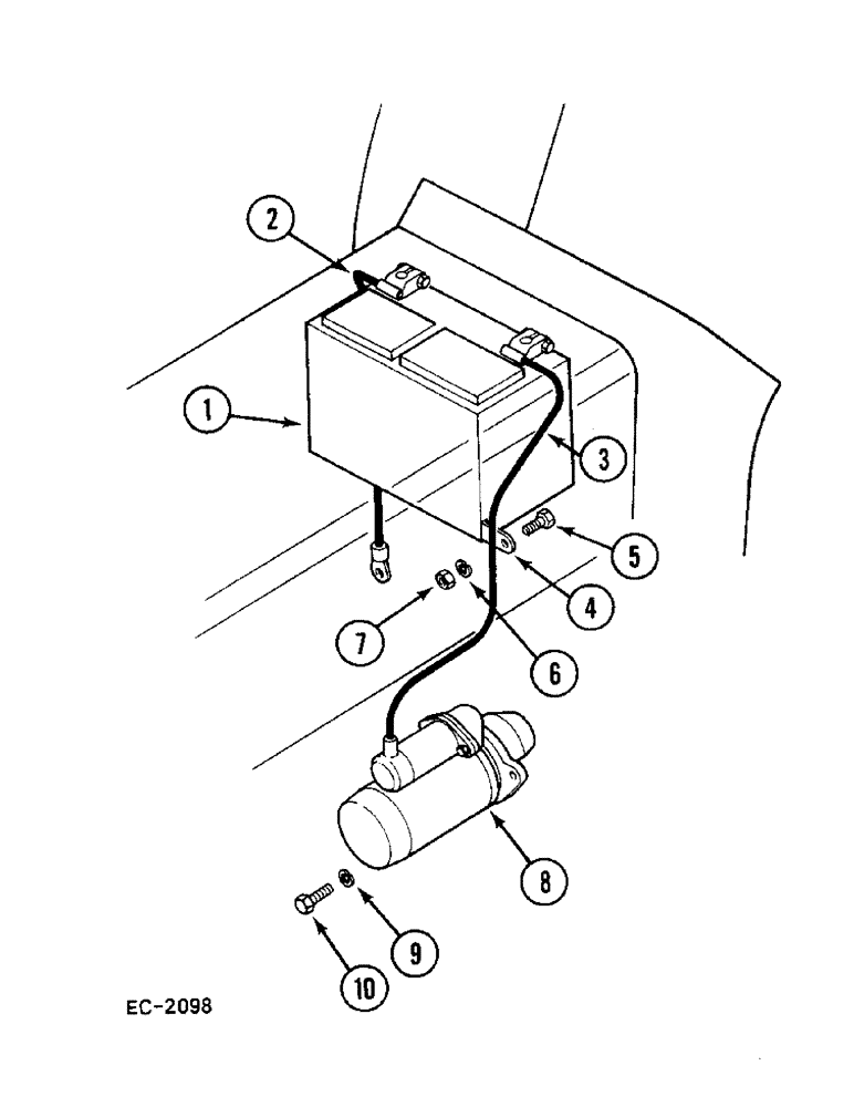
3
8
5
2
6
7
10
1
9
4
FIT
1:1
100%

Артикул

Название

Примечание

Количество

1

A186026

BATTERY, DRY

BATTERY - dry charge, maintenance free, 12 volt

1шт.

2

537504R1

CABLE ASSY.

CABLE -, Serial Range: battery-earth

1шт.

3

528301R1

CABLE ASSY.

CABLE -, Serial Range: battery-starter

1шт.

4

3116240R1

CLIP

CLIP - 0.56 diameter, closed (See Figure 4-114)

1шт.

5

450643

SCREW,Hex Hd, #8-32 x 3/8"

BOLT - hex, machine no. 8 x 3/8 inch

1шт.

6

492-11008

LOCK WASHER,#8

Washer, Lock, #8

1шт.

7

225-10108

NUT,#8-32

NUT, #8-32

1шт.

8

189330A5

STARTER MOTOR,12V, 2.8kW

MOTOR - starting, Delco Remy

1шт.

8

189330A5R

REMAN-STARTER,12V, 2.8kW

Remanufactured Starter 12 volt, 2.8KW

1шт.

8

189330A5C

CORE-STARTER,12V, 2.8kW

Return Part Number, Starter 12 volt, 2.8KW

1шт.

8

529965R93

STARTING MOTOR

MOTOR - starting, Bosch (See Figure 4-106)

1шт.

8

537140R95

STARTER MOTOR

MOTOR - starting, Lucas no. 27508B, model M127/28 (See Figure 4-108)

1шт.

9

103321

LOCK WASHER,3/8"

WASHER, LOCK, 3/8"

3шт.

10

179841

BOLT,Hex, 3/8" - 16 x 1 1/4", Gr 5

BOLT - hex, 3/8"-16 NC x 1-1/4", G5

3шт.

Выбрано товаров: 14