Запчасти Case 380B (6-162) - CLUTCH HOUSING TOP COVER AND CONNECTIONS (06) - POWER TRAIN

Схема запчастей Case 380B - (6-162) - CLUTCH HOUSING TOP COVER AND CONNECTIONS (06) - POWER TRAIN
13
2
15
14
1
5
17
20
7
1
11
9
24
6
23
22
13
16
10
18
26
3
15
25
14
4
8
21
12
19
FIT
1:1
100%

Артикул

Название

Примечание

Количество

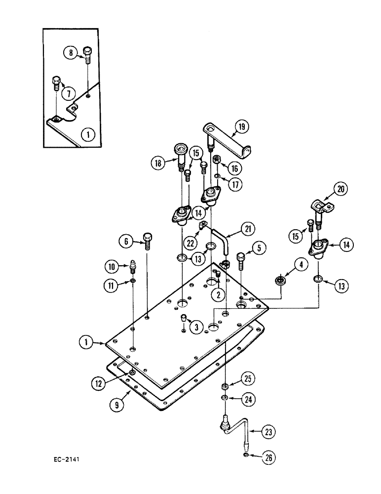
1

3129161R91

COVER ASSY

COVER - clutch housing top, without forward and reverse, Includes: Ref. 2 - 5, Serial Range: -18001

1шт.

1

99495C91

COVER

- clutch housing top, without forward and reverse, Includes: Ref. 2 - 5, Start Serial: 18001

1шт.

1

3129157R91

COVER ASSY

COVER - clutch housing top, with forward and reverse, Includes: Ref. 2 - 5, Serial Range: -18001

1шт.

1

99498C91

COVER

- clutch housing top, with forward and reverse, Includes: Ref. 2 - 5, Start Serial: 18001

1шт.

2

3129159R1

STUD

- top cover

1шт.

3

24901R1

PLUG,Cup, 3/8"

- cup, 3/8 inch

1шт.

4

349373R1

PLUG

- cup, 1-1/4 inch

1шт.

5

179816

BOLT,Hex, 5/16" - 18 x 3/4", Gr 5

2шт.

6

179838

BOLT,Hex, 3/8" - 16 x 7/8", Gr 5, Full Thd

- hex, 3/8 NC x 7/8 inch, without Forward and Reverse

16шт.

7

179837

BOLT,Hex, 3/8" - 16 x 3/4", Gr 5

w/ forward and reverse Hex, 3/8"-16 x 3/4", G5, Full Thd

2шт.

8

NLS

NO LONGER SERVICED

- hex, 3/8 NC x 1 inch, grade 5, with Forward and Reverse

14шт.

9

401019R3

GASKET

- clutch housing top cover, without forward and reverse, Serial Range: -18001

1шт.

9

401621R3

GASKET

- clutch housing top cover

1шт.

10

3129200R1

ADAPTER

ADAPTOR

1шт.

11

371544R1

O-RING,0.07" Thk x 0.551" ID, -15, Cl 5, 75 Duro

- 9/16 ID x 1/16 inch

1шт.

12

21332R1

SNAP RING,#68, Ext

1шт.

13

391733R1

O-RING,0.07" Thk x 1.114" ID, -24, Cl 6, 90 Duro

- 1-1/8 ID x 1/16 inch

3шт.

14

3129165R2

HOUSING

- speed shift arm

3шт.

15

179816

BOLT,Hex, 5/16" - 18 x 3/4", Gr 5

5шт.

16

120376

NUT,5/16"-18, G5

1шт.

17

103320

LOCK WASHER,5/16"

WASHER, LOCK, 5/16"

1шт.

18

1277030C1

PIVOT ASSY.

PIVOT - interlock (See Figure 6-170)

1шт.

19

3129166R1

ARM ASSY.

ARM - speed shift actuating, 1st/2nd (See Figure 6-170)

1шт.

20

3129172R1

ARM ASSY.

ARM - speed shift actuating, 3rd/4th (See Figure 6-170)

1шт.

21

1500242C1

HOSE,6.75 mm ID, 12.7 mm OD, 92 mm Length

6.75 mm ID x 92.00 mm, Lubrication Tube

1шт.

22

279025R91

HOSE CLAMP,#06, .44/.78 Type F Worm

2шт.

22

534421R1

HOSE CLAMP

CLAMP - worm drive hose, Serial Range: (Optional-279025R91)

2шт.

22

3112550R1

CLAMP

- hose, Serial Range: (Optional-279025R91)

2шт.

23

3129164R1

TUBE ASSY.,0.25" OD, 190.5, 83 mm Length

TUBE - transmission lubrication

1шт.

24

379181R1

O-RING,0.614" ID x 0.07" Width

- 5/8 ID x 1/16 inch

1шт.

25

269181R1

SNAP RING,#75, Ext

Ring, Snap, #75, Ext

1шт.

26

352219R1

O-RING,0.07" Thk x 0.239" ID, -10, Cl 5, 75 Duro

- 1/4 ID x 1/16 inch

1шт.

Выбрано товаров: 32