Запчасти Case 570LXT (8-052) - BACKHOE BOOM LOCK HYDRAULIC AND ELECTRICAL CIRCUIT AT CONTROL TOWER AND BACKHOE VALVE (08) - HYDRAULICS

Схема запчастей Case 570LXT - (8-052) - BACKHOE BOOM LOCK HYDRAULIC AND ELECTRICAL CIRCUIT AT CONTROL TOWER AND BACKHOE VALVE (08) - HYDRAULICS
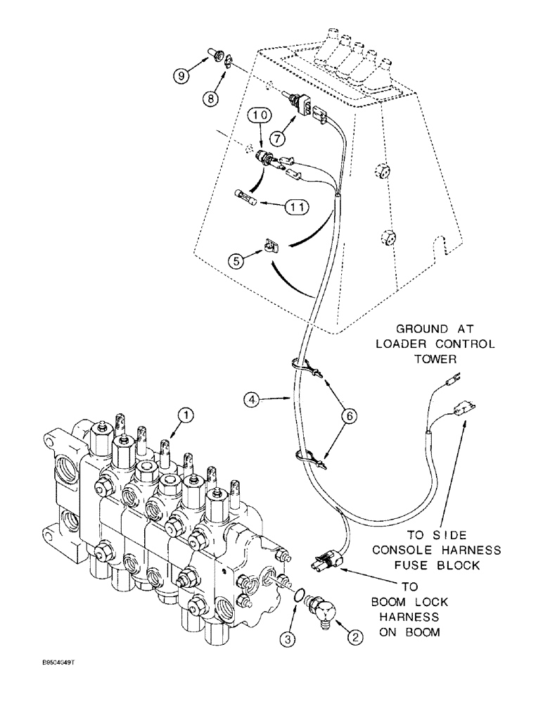
1
2
10
6
5
7
8
3
4
9
11
FIT
1:1
100%

Артикул

Название

Примечание

Количество

190544A1

KIT

backhoe boom lock, also includes parts on Figure 8-054, L111356 decal on Figure 9-172 and an instruction sheet, order components separately and 7-50120 instruction sheet, Includes: Ref. 1 - 11

1шт.

1

REF

INSTRUCTION

VALVE ASSEMBLY, backhoe control, for correct assembly and components, see Figure 8-076 or 8-078, for valve mounting see Figure 8-022

1шт.

Not included in 190544A1 kit. Purchase separately.

1шт.

2

189414A1

ELBOW

adjustable, 90°, see Figure 8-054 for attaching hose, Includes: Ref. 3

1шт.

3

237-6010

O-RING,0.097" Thk x 0.755" ID, -910, Cl 6, 90 Duro

10-1, 90 Duro, .755" ID x .097" Thk

1шт.

4

189601A1

HARNESS

boom lock, at control tower to fuse block on side console harness

1шт.

5

L100659

CLIP

harness

2шт.

6

L18337

CABLE TIE,9.95"-12.1" lg

STRAP tie, nylon, 15 inch

2шт.

7

D67251

SWITCH

toggle, boom lock

1шт.

8

L105735

PLATE ASSY.

PLATE trim

1шт.

9

L101998

BOOT

toggle switch

1шт.

10

376852R91

HOUSING

HOLDER fuse, includes cap, at backhoe control tower

1шт.

11

223-26

FUSE,5 Amp, Type 3AG

3AG, 5 ampere, boom lock

1шт.

Выбрано товаров: 13