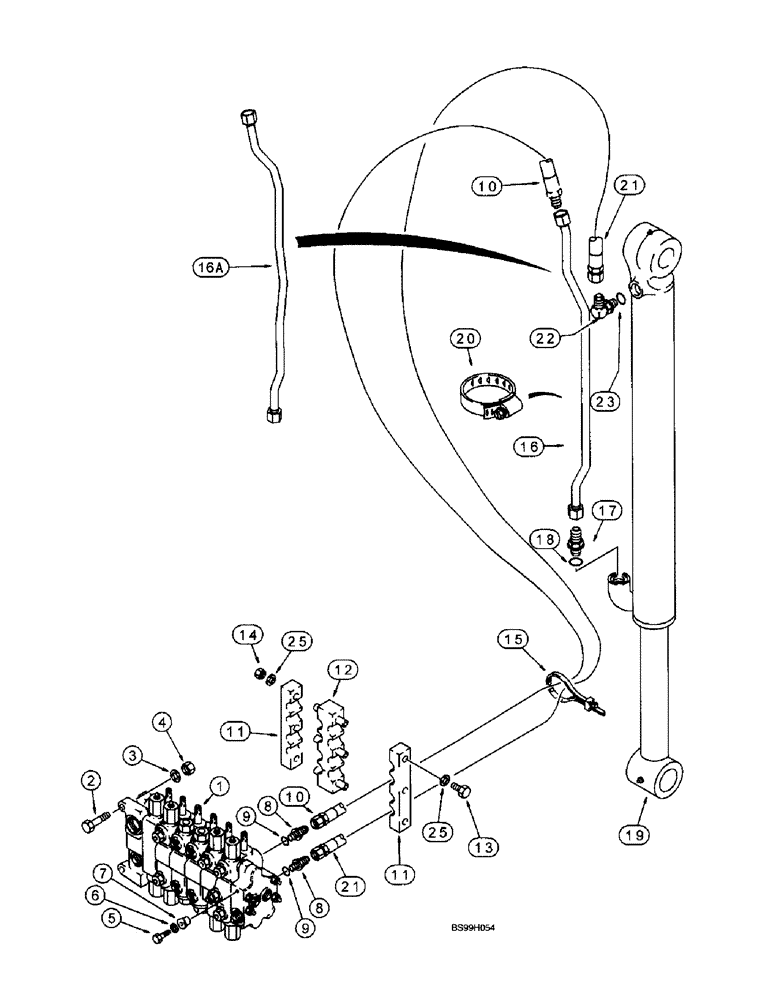
Запчасти Case 570LXT (8-028) - BACKHOE BUCKET CYLINDER HYDRAULIC CIRCUIT, MODELS WITHOUT EXTENDABLE DIPPER (08) - HYDRAULICS

Схема запчастей Case 570LXT - (8-028) - BACKHOE BUCKET CYLINDER HYDRAULIC CIRCUIT, MODELS WITHOUT EXTENDABLE DIPPER (08) - HYDRAULICS
13
3
8
23
17
15
16a
19
16
14
11
21
10
6
11
10
7
9
1
18
22
8
4
21
20
25
2
5
9
25
12
FIT
1:1
100%

Артикул

Название

Примечание

Количество

1

REF

INSTRUCTION

VALVE ASSEMBLY, backhoe control, for correct assembly and components, see Figure 8-86 - 8-89A

1шт.

2

814-12045

BOLT,Hex, M12 x 1.75 x 45mm, Cl 8.8

hex, 12 - 1.75 x 45 mm

2шт.

3

896-11012

WASHER,13.5mm ID x 24mm OD x 3mm Thk

2шт.

4

829-1412

NUT,M12, Cl 10.9

hex, 12 mm - 1.75, class 10

2шт.

5

413-624

BOLT,Hex, 3/8" - 16 x 1-1/2", Gr 5

hex, 3/8 NC x 1-1/2 inch

1шт.

6

D52275

WASHER,9.92mm ID x 31.75mm OD x 2.78mm Thk

flat, special, hardened, 25/64 x 1-1/4 x 7/64 inch

1шт.

7

D52276

ISOLATOR,10.16mm ID x 28.07mm OD x mm L

INSULATOR rubber

1шт.

8

218-5063

HYD CONNECTOR,7/8" - 14 Male JIC x 1-1/16" - 12 Male ORB

ADAPTER straight, bucket section upper and lower ports, 7/8-14 flare x 1-1/16-12 inch O-ring boss, Includes: Ref. 9

2шт.

9

237-6012

O-RING,0.116" Thk x 0.924" ID, -912, Cl 6, 90 Duro

12-1, 90 Duro, .924 ID x .116" Thk

1шт.

10

194158A1

HOSE,12.7mm ID x 3860mm L

to bucket cylinder rod end, 3860 mm, 152 inch long, Includes: hose guard and clamp

1шт.

11

178951A1

CLAMP

hose, outer

2шт.

12

178952A1

CLAMP

hose, center

1шт.

13

814-10120

BOLT,Hex, M10 x 1.5 x 120mm, Cl 8.8

hex, 10 - 1.5 x 120 mm

3шт.

14

832-10410

NUT,M10 x 1.5, Cl 8

NUT, LOCK, M10 x 1.5, Cl 8

3шт.

15

L18337

CABLE TIE,9.95"-12.1" lg

STRAP tie, nylon, retaining, 15 inch

2-4шт.

16

256091A1

HYD TUBE,19.05 mm OD, 906, 58 mm Length

TUBE bucket cylinder rod end, no longer available, order 311683A1 tube

1шт.

16a

311683A1

HYD TUBE,19.05 mm OD, 923, 74 mm Length

TUBE bucket cylinder rod end

1шт.

17

218-5065

HYD CONNECTOR,1-1/16" - 12 Male JIC x 7/8" - 14 Male ORB

ADAPTER straight, bucket cylinder rod end, 1-1/16-12 flare x 7/8-14 inch O-ring boss, Includes: Ref. 18

1шт.

18

237-6010

O-RING,0.097" Thk x 0.755" ID, -910, Cl 6, 90 Duro

10-1, 90 Duro, .755" ID x .097" Thk

1шт.

19

128760A1

CYLINDER ASSY.,Double Acting, 57.2mm Rod, 871.7mm Stroke

CYLINDER ASSEMBLY, bucket, 83 mm, 3-1/4 inch ID x 872 mm, 34-5/16 inch stroke, parts list Figure 8-152

1шт.

19

128760A1R

REMAN-HYD CYLINDER

Bucket Cylinder - For N.A. Only

1шт.

19

128760A1C

CORE-HYD CYLINDER

Bucket Cylinder - For N.A. Only

1шт.

20

214-1464

HOSE CLAMP,#64, 3.56" - 4.5", Type F Worm

CLAMP, HOSE, , Adj. #64, 3.56/4.50 Type F Worm

2шт.

21

194159A1

HOSE,12.7mm ID x 3860mm L

to bucket cylinder closed end, 3860 mm, 152 inch long, Includes: hose guard and clamp

1шт.

22

218-5107

90 ELBOW,90 Degree Elbow, 7/8" - 14 Male JIC x 7/8" - 14 Male ORB

90 degree, 7/8-14 inch flare x adj. O-ring boss, Incl. Ref. 23

1шт.

23

237-6010

O-RING,0.097" Thk x 0.755" ID, -910, Cl 6, 90 Duro

10-1, 90 Duro, .755" ID x .097" Thk

1шт.

25

895-11010

WASHER,11mm ID x 20mm OD x 2mm Thk

flat, 11 x 20 x 2 mm

6шт.

Выбрано товаров: 27