Запчасти Case 570LXT (9-074) - REAR CLOSURE PANELS AND FENDER SUPPORTS 570LXT MODELS (09) - CHASSIS/ATTACHMENTS

Схема запчастей Case 570LXT - (9-074) - REAR CLOSURE PANELS AND FENDER SUPPORTS 570LXT MODELS (09) - CHASSIS/ATTACHMENTS
12
6
1
9
16
6
6
10
13
9
5
11
6
2
10
8
6
14
7
6
15
8
6
11
4
7
9
3
FIT
1:1
100%

Артикул

Название

Примечание

Количество

1

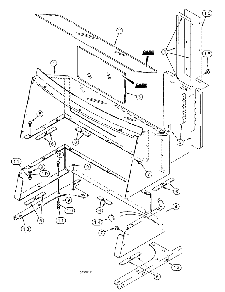
143305A1

PANEL

ASSEMBLY, upper, closure, cab models, Includes: Ref 1-3 panel and glass

1шт.

2

177585A1

GLASS

upper, closure panel

1шт.

3

177586A1

GLASS

lower, closure panel

1шт.

4

139756A2

PANEL

lower, closure, used with Ref. 1 panel on cab models or used alone on canopy models

1шт.

5

183267A1

SEAL

foam, closure panel

1шт.

6

183415A1

SEAL

adhesive backed, 5000 mm, 196-7/8 inch, long, cut as required

1шт.

7

282-16512

SCREW,Hex Wshr Hd, #10 - 16 x 3/4"

self drilling tapping, hex washer head, No. 10-16 x 3/4 inch, Teflon

10шт.

8

614-8020

BOLT,Hex, M8 x 1.25 x 20mm

hex, full threads, 8 - 1.25 x 20 mm

9-18шт.

10

892-11008

LOCK WASHER,8mm ID

WASHER, LOCK, M8

9-18шт.

11

829-1408

NUT,Hex, M8 x 1.25, Cl 10.9

hex, 8 mm - 1.25, class 10

9-18шт.

12

139446A1

SUPPORT

right hand fender, canopy models

1шт.

13

139448A1

SUPPORT

left hand fender, canopy models

1шт.

14

353-415

PLUG,Dome, 1.500" hole, Nylon

button, 1-1/2 inch, black, plastic

1шт.

15

175854A1

LARGE PLATE

PLATE rear closure cover, used on models with rear counterweight

1шт.

16

280-1478

SELF-TAP SCREW,HWH, 1/4-14 x 1/2"

SCREW self tapping, hex washer head, 1/4-14 x 1/2 inch

6шт.

9

895-15008

WASHER,9mm ID x 20mm OD x 1.6mm Thk

9-21шт.

Выбрано товаров: 0