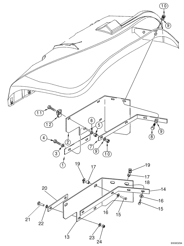
Запчасти Case 570MXT (09-31) - GUARD, MUD (09) - CHASSIS/ATTACHMENTS

Схема запчастей Case 570MXT - (09-31) - GUARD, MUD (09) - CHASSIS/ATTACHMENTS
16
22
8
5
15
19
23
18
7
1
3
15
12
13
2
4
16
10
20
9
14
11
24
21
9
19
6
17
10
17
9
FIT
1:1
100%

Артикул

Название

Примечание

Количество

1

362557A1

STRIP

1шт.

2

413166A1

GUARD

Mounts At Right-Hand Fender; If Used

1шт.

3

368417A1

WASHER

M10

2шт.

4

711-10040

CARRIAGE BOLT,Short NK, M10 x 40, Cl8.8, Full Thd

2шт.

5

832-10410

NUT,M10 x 1.5, Cl 8

2шт.

6

895-11010

WASHER,11mm ID x 20mm OD x 2mm Thk

2шт.

7

136280A1

LARGE PLATE

PLATE, LARGE

1шт.

8

814-8035

BOLT,Hex, M8 x 1.25 x 35mm, Cl 8.8

2шт.

9

K691987

WASHER,10.5mm ID x 30mm OD x 3.0mm Thk

Replaces 80664 Washer In This Application

6шт.

10

832-10408

NUT,M8 x 1.25, Cl 8.8

4шт.

11

614-8045

BOLT,Hex, M8 x 1.25 x 45mm, Cl 8.8, Full Thd

2шт.

12

833-40408

NUT,M8, U

2шт.

13

87592763

GUARD

Mud Guard; If Used

1шт.

14

87592762

SECURING STRAP

Mud Guard Strip

1шт.

15

614-8040

BOLT,Hex, M8 x 1.25 x 40mm, Cl 8.8, Full Thd

4шт.

16

495-21038

WASHER,5/16"

4шт.

17

D146035

SPACER,10.31mm ID x 16mm OD x 15.5mm L

2-4шт.

18

229398

SPACER,9.78mm ID x 15.88mm OD x 19.05mm L

If Used

2шт.

19

833-40408

NUT,M8, U

4шт.

20

362557A1

STRIP

Reforcing Bar

1шт.

21

711-10040

CARRIAGE BOLT,Short NK, M10 x 40, Cl8.8, Full Thd

2шт.

22

368417A1

WASHER

10 mm

2шт.

23

495-21038

WASHER,5/16"

2шт.

24

832-10410

NUT,M10 x 1.5, Cl 8

2шт.

Выбрано товаров: 24