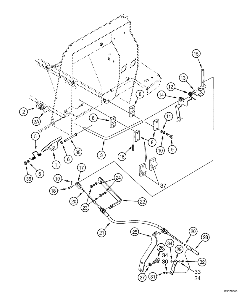
Запчасти Case 570MXT (03-03) - CONTROLS - THROTTLE, FOOT (03) - FUEL SYSTEM

Схема запчастей Case 570MXT - (03-03) - CONTROLS - THROTTLE, FOOT (03) - FUEL SYSTEM
34
19
13
35
6
29
3
27
33
11
34
30
28
18
2a
2
9
24
34
32
20
10
8
5
20
36
37
12
22
16
26
15
31
8
6
14
8
21
23
1
17
25
FIT
1:1
100%

Артикул

Название

Примечание

Количество

1

282242A1

PEDAL

Plastic

1шт.

87310096

BOLT,Hex, M6 x 25, Cl. 8.8, W/ Washer

10шт.

833-40406

NUT,M6, U

10шт.

2

132931A1

BOOT

Accelerator Pedal Rod

1шт.

2a

189109A1

SPRING,Compression, 42mm OD

1шт.

3

282931A1

LEVER

1шт.

5

256776A1

SPRING

1шт.

6

895-11005

WASHER,5.5mm ID x 10mm OD x 1mm Thk

2шт.

8

D124857

CLAMP

If Used

4шт.

9

814-8050

BOLT,Hex, M8 x 1.25 x 50mm, Cl 8.8

Used with Ref 8 Blocks

4шт.

9

87378776

BOLT,Hex, M8 x 30mm, Cl 8.8

Special; M8 x 30; Used With Ref 37 Blocks

4шт.

10

892-11008

LOCK WASHER,8mm ID

If Used

4шт.

11

895-11008

WASHER,9mm ID x 16mm OD x 1.6mm Thk

4шт.

12

123558A1

SPRING

1шт.

13

123392A1

SPACER

1шт.

14

245287A1

SUPPORT

1шт.

15

302846A1

LEVER

1шт.

16

838-3640

PIN,M6 x 40, Coiled

1шт.

17

213-123

ADJUSTABLE CLEVIS,#10-32 x 1 9/16"

1шт.

18

427-3058

CLEVIS PIN,3/16" x .580"

1шт.

19

432-48

COTTER PIN,1/16" x 1/2"

1шт.

20

225-14210

NUT,#10-32

2шт.

21

275454A1

CABLE,812.8mm L

To Injection Pump

1шт.

22

275456A1

SUPPORT

1шт.

23

43127

BOLT,Hex, M8 x 1.25 x 25mm, Cl 8.8

2шт.

24

892-11008

LOCK WASHER,8mm ID

If Used

2шт.

24

895-11008

WASHER,9mm ID x 16mm OD x 1.6mm Thk

If Used

2шт.

25

275455A1

SUPPORT

1шт.

26

627-12030

BOLT,Hex, M12 x 1.75 x 30mm, Cl 10.9, Full Thd

2шт.

27

892-11012

LOCK WASHER,M12

If Used

2шт.

27

896-11012

WASHER,13.5mm ID x 24mm OD x 3mm Thk

Flat, If Used

2шт.

28

278183A1

BALL JOINT

1шт.

29

275457A1

LEVER

1шт.

30

492-11025

LOCK WASHER,1/4"

If Used

1шт.

31

425-154

JAM NUT,Jam, 1/4"-28, G5

1шт.

32

614-6016

BOLT,Hex, M6 x 1 x 16mm, Cl 8.8, Full Thd

2шт.

33

892-11006

LOCK WASHER,M6

If Used

2шт.

34

895-11006

WASHER,6.6mm ID x 12mm OD x 1.6mm Thk

2-5шт.

35

322860A1

PIN,7.9mm OD x 55.6mm L

1шт.

36

103-1518

SNAP RING,#18, Ext

1шт.

37

87345006

BLOCK

Throttle Pivot Block; If Used

2шт.

Выбрано товаров: 41