Запчасти Case 570MXT (09-39) - CAB - DOORS, EXTERIOR (09) - CHASSIS/ATTACHMENTS

Схема запчастей Case 570MXT - (09-39) - CAB - DOORS, EXTERIOR (09) - CHASSIS/ATTACHMENTS
15
2
10
18
1
11
3
9
14
17
5
13
12
23
16
15b
20
8
4
6
19
21
7
15a
22
FIT
1:1
100%

Артикул

Название

Примечание

Количество

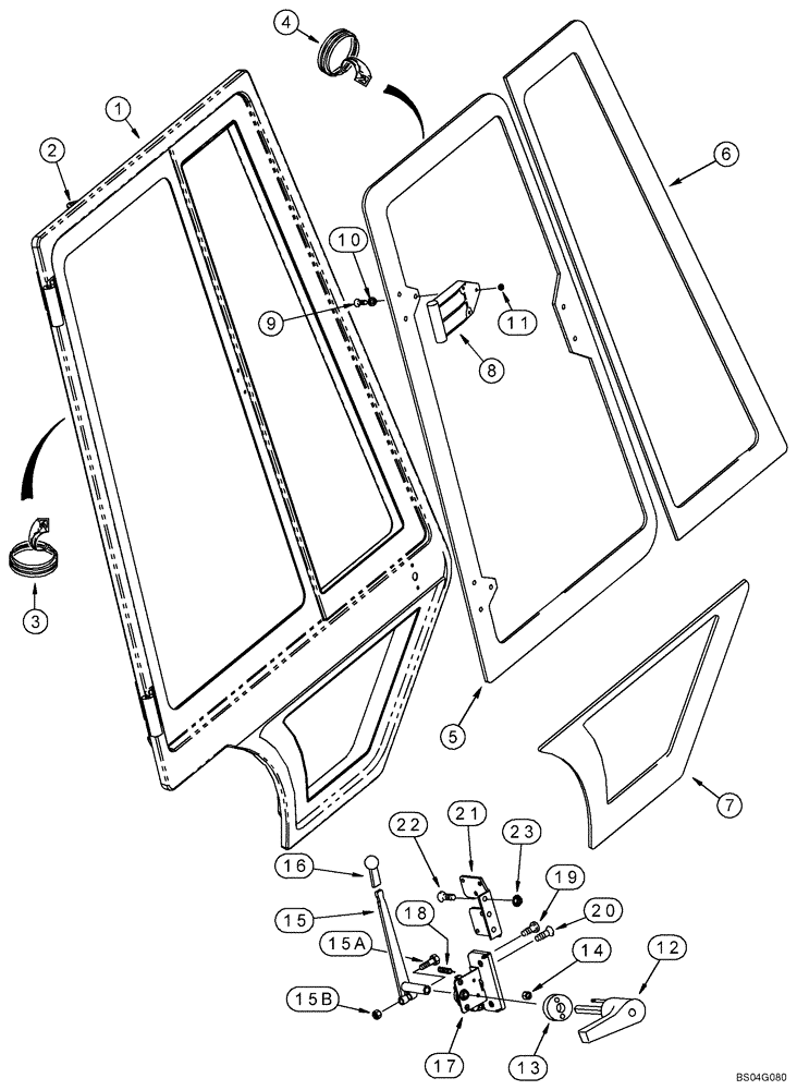
1

137869A3

DOOR ASSY.

Right-Hand Door; Incl. 2

1шт.

1a

137868A3

DOOR ASSY.

Left-Hand Door; Incl. 2; Not Illustrated

1шт.

2

R53562

BRACKET

Welded On; Cable

1шт.

3

187582A2

SEAL,4585mm L

4585 mm (180-1/2 in); Bulb Type; With Drain Holes

2шт.

4

R53444

SEAL,2688mm L

2689 mm (105-7/8 in); Bulb Type; Window Frames

2шт.

5

R52882

GLASS

Right-Hand Door

1шт.

5a

R52881

GLASS

Left-Hand Door

1шт.

6

R52880

GLASS

Right-Hand Door

1шт.

6a

R52879

GLASS

Left-Hand Door

1шт.

7

R52884

GLASS

Lower; Right-Hand Door

1шт.

7a

R52883

GLASS

Lower; Left-Hand Door

1шт.

8

R52917

HINGE

4шт.

9

142-103

SCREW,Phil Oval Hd, Csk, #10 - 24 x 3/4"

12шт.

10

F64198

BUMPER,4.98mm ID x 7.92mm OD x 10.21mm L

Nylon

12шт.

11

F45165

SPECIAL NUT,#10-24

No. 10

12шт.

12

196675A2

HANDLE

Outer; Right-Hand Door; Use With 86502201 Key

1шт.

12a

196673A2

HANDLE

Outer; Left-Hand Door; Use With 86502201 Key

1шт.

86502201

IGNITION KEY

Door Handle

1шт.

13

F64342

GASKET,1.6mm Thk

2шт.

14

86625057

NUT,#10-24, GB

4шт.

15

255453A1

LEVER

1шт.

15a

814-8045

BOLT,Hex, M8 x 1.25 x 45mm, Cl 8.8

1шт.

15b

832-10408

NUT,M8 x 1.25, Cl 8.8

1шт.

16

D135387

GRIP

2шт.

17

R55000

LATCH ASSY.

Right-Hand Door; Incl. 18

1шт.

17a

R55001

LATCH ASSY.

Left-Hand Door; Incl. 18

1шт.

18

A180163

SPRING

1шт.

19

265-16512

SELF-TAP SCREW,Cross Oval Hd, #10 x 3/4"

4шт.

20

137731A1

SELF-TAP SCREW,Cross Flat Hd, 1/4"-20 x 1"

8шт.

21

1977401C1

SUPPORT

Right-Hand Door

1шт.

21a

1977402C1

SUPPORT

Left-Hand Door

1шт.

22

443-13112

SCREW,Cross Flat Hd, 5/16"-18 x 3/4"

6шт.

23

231-5145

SERRATED NUT,Flg, USR, 5/16"-18

6шт.

Выбрано товаров: 33