Запчасти Case 570MXT (09-52) - CAB - AIR CONDITIONING, CONDENSER, RECEIVER-DRIER (09) - CHASSIS/ATTACHMENTS

Схема запчастей Case 570MXT - (09-52) - CAB - AIR CONDITIONING, CONDENSER, RECEIVER-DRIER (09) - CHASSIS/ATTACHMENTS
7
28
27
11
24
21
17
11
11
6
26
8
3
33
36
12
30
10
27
32
11
20
35
11
16
5
15
29
1
19
26
4
11
31
11
11
11
23
22
9
2
18
34
14
13
FIT
1:1
100%

Артикул

Название

Примечание

Количество

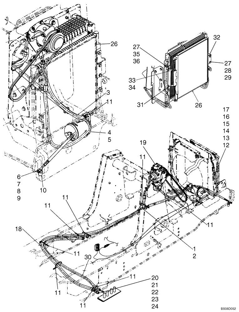
1

87479017

HOSE ASSY.

3150 mm, Receiver Drier to Cab; Incl. Ref 2

1шт.

2

128483A1

O-RING,1.78mm Thk x 7.65mm ID, 70 Duro

2шт.

3

191704A1

HOSE PROTECTION,19mm ID x 25mm OD x 460mm L

1шт.

4

86984155

RECEIVER-DRYER

1шт.

5

214-1464

HOSE CLAMP,#64, 3.56" - 4.5", Type F Worm

2шт.

6

87471549

HOSE ASSY.

436 mm, Condenser to Drier; Incl. Ref 7 - 9

1шт.

7

128483A1

O-RING,1.78mm Thk x 7.65mm ID, 70 Duro

3шт.

8

1250594C1

CORE

Valve, High Pressure Switch

1шт.

9

122081A1

FITTING,M10 x 1.25 x 26.43mm L

Switch

1шт.

10

232948A1

SWITCH, A/C HIGH PRE

1шт.

11

L18337

CABLE TIE,9.95"-12.1" lg

10шт.

12

87590156

A/C HOSE

1350 mm; Compressor to Condenser; Incl. Ref 13 - 17

1шт.

13

128484A1

O-RING,0.07" Thk x 0.426" ID, -13, Cl 5, 70 Duro

1шт.

14

128485A1

O-RING,1.78mm Thk x 14mm ID, 70 Duro

1шт.

15

1999926C1

PIPE FITTING

1шт.

16

1250594C1

CORE

Valve

1шт.

17

122554A1

CAP

Sealing

1шт.

18

87726951

HOSE PROTECTION,26.3mm ID x 1200mm L

1шт.

19

87430122

AIRCOND. COMPRESSOR

Component Parts Not Serviced Separately, See Figure 09-66 for Mounting

1шт.

19

84159489R

REMAN-COMPRESSOR,12V, W/ Clutch, W/ Pulley

570MXT SERIES 3 LOADER LANDSCAPER TIER 3 UT57M301, UT57M303 (4/08-) Reman for new P/N 87430122

1шт.

19

84159489C

CORE-COMPRESSOR

Return Number

1шт.

20

87479024

HOSE ASSY.

2800 mm, Cab to Compressor; Incl. Ref 21 - 24

1шт.

21

128485A1

O-RING,1.78mm Thk x 14mm ID, 70 Duro

2шт.

22

1999927C1

FITTING

1шт.

23

1250594C1

CORE

Valve

1шт.

24

122553A1

CAP

Sealing

1шт.

26

87546291

CONDENSER

1шт.

27

614-8020

BOLT,Hex, M8 x 1.25 x 20mm

6шт.

28

895-15008

WASHER,9mm ID x 20mm OD x 1.6mm Thk

2шт.

29

833-40408

NUT,M8, U

2шт.

30

87726950

HOSE PROTECTION

Guard, 1200 mm (47-1/4 in)

1шт.

31

87740948

BRACKET, PIVOT

PIVOT BRACKET Bracket, Pivot

1шт.

32

87740950

BRACKET, PIVOT

PIVOT BRACKET Bracket, Supporting

1шт.

33

814-10220

BOLT,Hex, M10 x 1.5 x 220mm, Cl 8.8

1шт.

34

832-10410

NUT,M10 x 1.5, Cl 8

1шт.

35

829-1408

NUT,Hex, M8 x 1.25, Cl 10.9

4шт.

36

895-11008

WASHER,9mm ID x 16mm OD x 1.6mm Thk

6шт.

Выбрано товаров: 37