Запчасти Case 570MXT (02-23) - PISTON - ENGINE (02) - ENGINE

Схема запчастей Case 570MXT - (02-23) - PISTON - ENGINE (02) - ENGINE
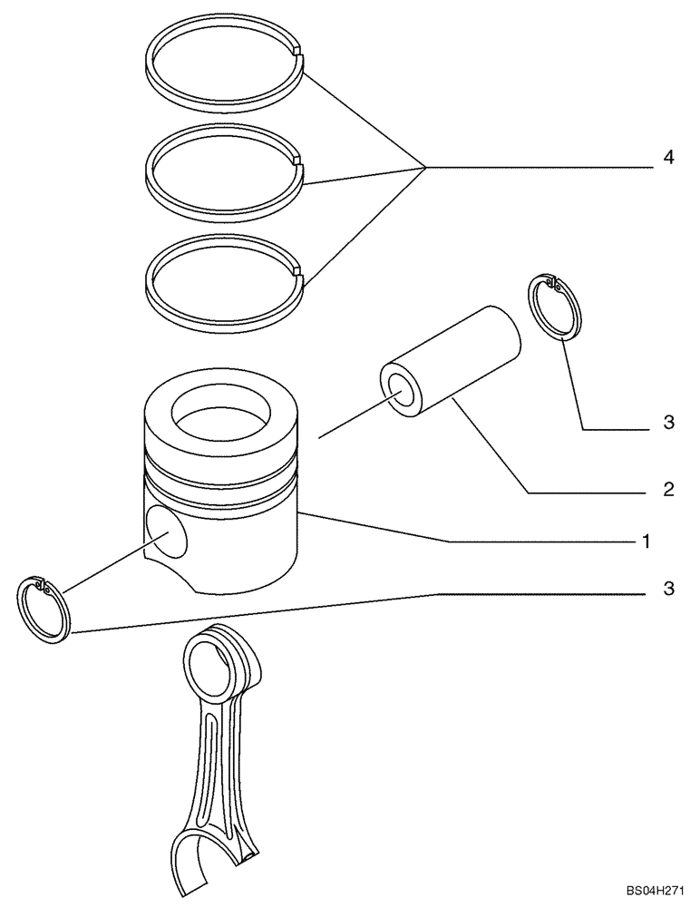
3
3
4
1
2
FIT
1:1
100%

Артикул

Название

Примечание

Количество

1

2855531

PISTON

(Std)

4шт.

1

8094740

PISTON & RINGS KIT

STD, Incl Piston 2855531, Top Compression Ring 2854603, Second Compression Ring 2830158, Oil Control Ring 2852037, Piston Pin 4892712, And Retainer 4895088

1шт.

1

87317252

PISTON & RINGS KIT,0.4mm Oversize

Oversized, Incl. Piston 2856484, Top Compression Ring 2854141, Second Compression Ring 2830159, Oil Control Ring 2853875, Piston Pin 4892712, And Retainer 4895088

1шт.

1

87647551

PISTON & RINGS KIT

0.8 mm Oversize, Incl Piston 2856485, Top Compression Ring 2854142, Second Compression Ring 2830160, Oil Control Ring 2853876, Piston Pin 4892712, And Retainer 4895088

1шт.

1

8094845

PISTON RINGS KIT

STD; Incl. Top Cmpression Ring 2854603, Second Compression Ring 2830158, Oil Control Ring 2852037

1шт.

1

87582180

PISTON RINGS KIT

0.4 mm Oversize; Incl. Top Cmpression Ring 2856713, Second Compression Ring 2830159, Oil Control Ring 2853875

1шт.

1

87582181

PISTON RINGS KIT

0.8 mm Oversize; Incl. Top Cmpression Ring 2856714, Second Compression Ring 2830160, Oil Control Ring 2853876

1шт.

2

4892712

PISTON PIN,38mm OD x 82mm L

4шт.

3

4892713

SNAP RING,Int, M26.4

8шт.

4

2830158

PISTON RING,95.4mm ID x 104mm OD x 2.39mm Thk

(Standard)

1шт.

4

2852037

SEAL,95.3mm ID x 104mm OD x 4mm Thk

1шт.

4

2854603

PISTON RING

Piston seal

1шт.

84131040

SHORT ENGINE

Kit, Tier 3 Short Block; Includes All Items on Fig 02-09, Ref 1, 6 - 10 On Fig 02-10, Ref 1 - 4 On Fig 02-21, Ref 1, 4 On Fig 02-22, Ref 1 - 4 On Fig 02-23, And Ref 1 - 7 On Fig 02-28

1шт.

84131040R

1шт.

84131040C

Return Number

1шт.

84131040ER

REMAN-SHORT ENGINE

1шт.

84131040EPAC

CORE-SHORT ENGINE

Return Number

1шт.

Выбрано товаров: 17