Запчасти Case 570MXT (04-07) - HARNESS, FRONT CONSOLE AND SWITCHES (04) - ELECTRICAL SYSTEMS

Схема запчастей Case 570MXT - (04-07) - HARNESS, FRONT CONSOLE AND SWITCHES (04) - ELECTRICAL SYSTEMS
8a
8
1
10
7
1
5
2
13
12
9
11
1
6
3
4
14
3
FIT
1:1
100%

Артикул

Название

Примечание

Количество

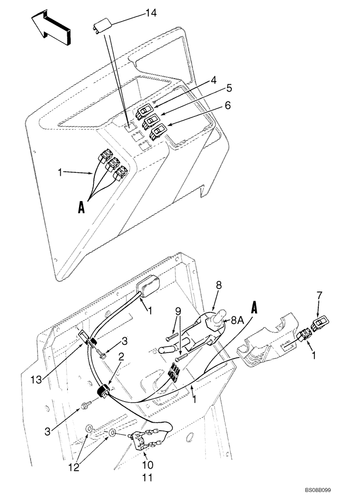
1

400011A1

HARNESS

Front Console; Service With Harness 282014A2

1шт.

2

87032428

CLAMP,22.2mm, Coat, 10.3mm Bolt Hole, J Type

1шт.

3

781-24820

SELF-TAP SCREW,Hex Flg, M8 x 1.25 x 20mm

2шт.

4

123538A1

LIGHT SWITCH

Dome Lamp; If Used

1шт.

5

122736A1

FLASHER SWITCH

Hazard and Flasher Lamps

1шт.

6

131691A1

ROCKER SWITCH

Turn Signal

1шт.

7

122740A1

ROCKER SWITCH

Horn

1шт.

8

278328A1

SWITCH

Transmission Shift; Forward/Neutral/Reverse

1шт.

8a

236521A1

HALF-COLLAR

HALF COLLAR Incl. Clamp And (2) Nuts

1шт.

279520A1

DUST CAP

1шт.

9

397990A1

SCREW,Phillips Drive, Pan HD, M5 x 0.8 x 35mm

M5 x 35

2шт.

10

D148108

SWITCH

Brake Lamp

1шт.

11

A187990

TERMINAL CONNECTOR,Tin, 0.254 - 1.520mm

Male

2шт.

12

495-81153

WASHER,.469" x 3/4" x .030"

2шт.

13

515-23254

CLAMP,1", Insul, 3/8" Bolt

1шт.

14

126844A1

PLUG,1.427” x .62” , Plastic

If Used

1шт.

Выбрано товаров: 16