Запчасти Case 570N EP (35.114.AA[06]) - VAR - 747877, 747878 - 3 POINT HITCH, 5 SPOOL VALVE ASSY (35) - HYDRAULIC SYSTEMS

Схема запчастей Case 570N EP - (35.114.AA[06]) - VAR - 747877, 747878 - 3 POINT HITCH, 5 SPOOL VALVE ASSY (35) - HYDRAULIC SYSTEMS
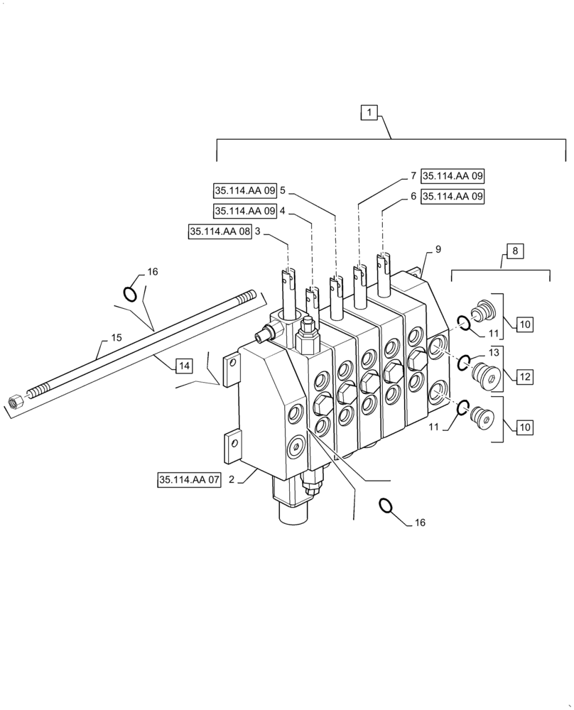
7
5
9
16
35.114.aa 09
1
3
13
4
15
10
14
10
11
11
12
35.114.aa 07
6
35.114.aa 09
2
35.114.aa 09
16
35.114.aa 09
35.114.aa 08
8
FIT
1:1
100%

Артикул

Название

Примечание

Количество

1

84260988

VALVE, CONTROL

Assembly, 3 Point, 5 Spool, Incl 2 - 12

1шт.

2

432849A1

COVER ASSY

Inlet Section

1шт.

3

418955A1

HYD VALVE SECTION

Lift Section, With Switch On Lift Spool For Lock Valve

1шт.

3

419347A1

KIT

Switch Block, Includes Switch, Lock Nut, Block, Retainer, Boot and (4) Screws, Component Parts Not Serviced Separately

1шт.

4

418956A1

HYD VALVE SECTION

Pitch Section

1шт.

5

418956A1

HYD VALVE SECTION

Tilt Section

1шт.

6

418956A1

HYD VALVE SECTION

Implement Section

1шт.

7

418956A1

HYD VALVE SECTION

Auxiliary Section

1шт.

8

418957A1

COVER ASSY

Outlet Section, Incl 9 - 13

1шт.

9

419343A1

HOUSING

1шт.

10

86590562

PLUG,Hex Soc, 3/4" - 16 ORB

Incl 11

2шт.

11

128825

O-RING,0.087" Thk x 0.644" ID, -908, Cl 6, 90 Duro

2шт.

12

86625138

PLUG,7/18" - 14

Incl 13

1шт.

13

167269

O-RING,0.097" Thk x 0.755" ID, -910, Cl 6, 90 Duro

1шт.

14

432848A1

KIT

Component Parts Not Serviced Separately, Includes (4) Tie Bolts, (8) Nuts, (2) Brackets and (6) Seals, Incl 15 - 16

1шт.

15

419076A1

KIT

Stud

1шт.

16

418958A1

KIT

Section Seals, Component Parts Not Serviced Separately, Includes (4) O-Rings

6шт.

Выбрано товаров: 17