Запчасти Case 570N EP (90.114.AQ[04]) - CANOPY, TALL ROPS (90) - PLATFORM, CAB, BODYWORK AND DECALS

Схема запчастей Case 570N EP - (90.114.AQ[04]) - CANOPY, TALL ROPS (90) - PLATFORM, CAB, BODYWORK AND DECALS
90.114.aq 03
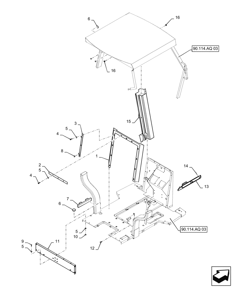
14
8
3
1
16
12
4
5
15
9
7
11
6
5
10
6
16
5
2
13
4
5
90.114.aq 03
FIT
1:1
100%

Артикул

Название

Примечание

Количество

1

47939825

MOLDING

Firewall

1шт.

2

143127A1

PLATE

Firewall Stiffener

1шт.

3

137851A1

PLATE

Console Mounting

2шт.

4

781-24820

SELF-TAP SCREW,Hex Flg, M8 x 1.25 x 20mm

9шт.

5

87655042

SPECIAL WASHER,8.8mm ID x 17.5mm OD x 2.2mm Thk

15шт.

6

353-417

PLUG,Dome, 2.000" hole, Nylon

10шт.

7

188482A1

SEALING STRIP

Foam

2шт.

8

833-40406

NUT,M6, U

4шт.

9

614-8020

BOLT,Hex, M8 x 1.25 x 20mm

3шт.

10

829-1408

NUT,Hex, M8 x 1.25, Cl 10.9

3шт.

11

400464A2

PANEL

Lower Rear Closure

1шт.

12

D143242

PLUG,7.1mm Dia Shank x 25.4mm OD Head x 23.1mm L

Push - In

2шт.

13

393009A1

FRAME

Side Lockup Cover

1шт.

14

140-119

SCREW,Cross Pan Hd, #10 - 24 x 1 1/4"

4шт.

15

47939826

COVER

Electrical

1шт.

16

353-403

PLUG,Dome, .437" hole, Nylon

8шт.

Выбрано товаров: 16