Запчасти Case 570N EP (21.140.AE[03]) - TRANSMISSION SECONDARY SHAFT, 2WD (21) - TRANSMISSION

Схема запчастей Case 570N EP - (21.140.AE[03]) - TRANSMISSION SECONDARY SHAFT, 2WD (21) - TRANSMISSION
8
20
15
8
19
16
5
11
12
9
23
14
22
17
6
21
11
18
7
1
4
10
3
9
2
10
13
FIT
1:1
100%

Артикул

Название

Примечание

Количество

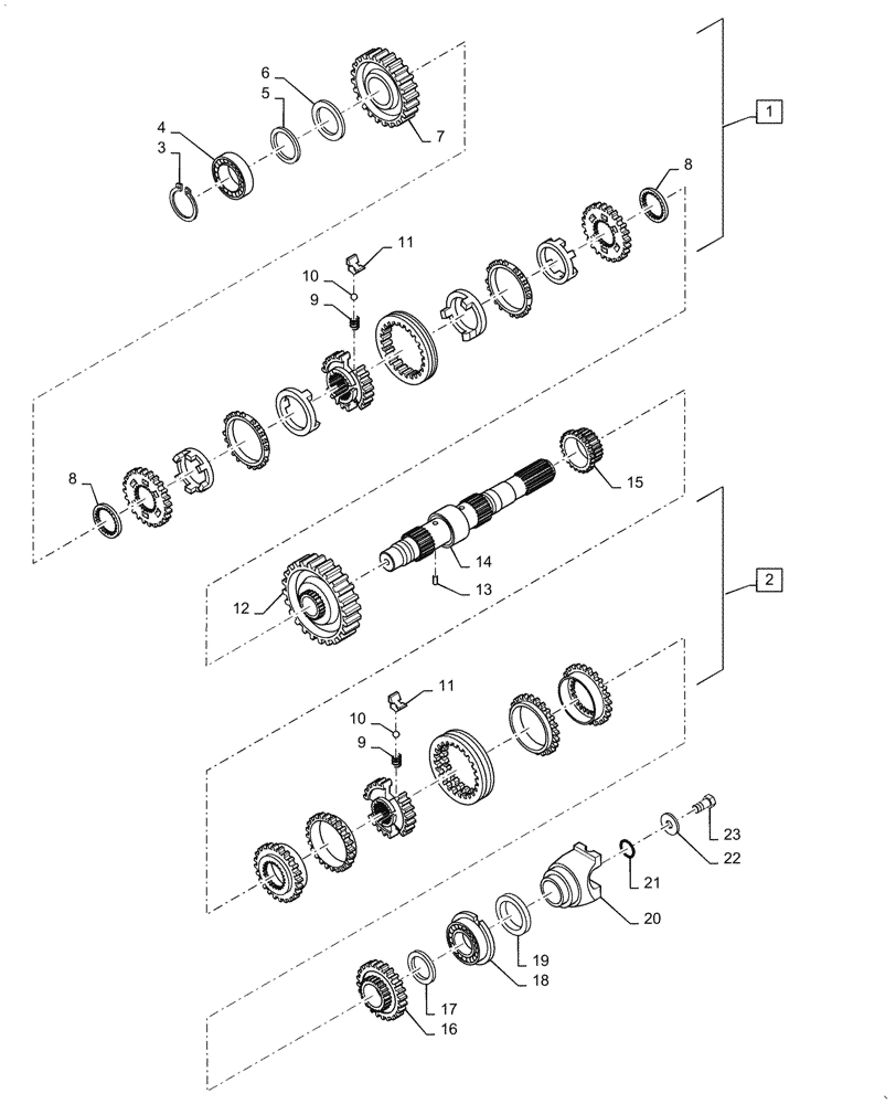
1

190427A1

SYNCHRONIZER,90T

Double Cone Assembly, Incl 8 - 11

1шт.

2

87429974

SYNCHRONIZER

Single Cone Assembly, Incl 9 - 11

1шт.

3

181118A1

RING, LOCKING,36.5mm ID x 1.75mm Thk

1шт.

4

181132A1

ROLLER BEARING,40mm ID x 80mm OD x 18mm W

1шт.

5

358650A1

SHIM,0.05mm Thk

1шт.

5

358651A1

SHIM,0.1mm Thk

1шт.

5

358652A1

SHIM,0.3mm Thk

1шт.

5

196454A1

SHIM,0.5mm Thk

1шт.

6

358649A1

THRUST WASHER

Retaining

1шт.

7

87701278

GEAR,44T

1шт.

8

244109A1

SPACER

Incl in 1

2шт.

9

384773A1

COIL SPRING

Incl in 1 - 2

3шт.

10

384769A1

BALL

Incl in 1 - 2

3шт.

11

326865A1

SPACER

Incl in 1 - 2

3шт.

12

87701293

GEAR,50T

1шт.

13

181108A1

SPLIT PIN,3mm OD x 8mm L

1шт.

14

87701294

SHAFT

Secondary (Rear Output Shaft)

1шт.

15

358282A1

GEAR,23T

1шт.

16

358283A1

DRIVEN GEAR,33T

1шт.

17

358639A1

WASHER

Retaining

1шт.

18

181130A1

BEARING, BALL,45 mm ID x 106.5 mm OD x 25 mm

1шт.

19

181123A1

OIL SEAL,60mm ID x 75mm OD x 8mm Thk

1шт.

20

233284A1

YOKE

Rear Drive Shaft

1шт.

21

181144A1

O-RING,39.6mm ID x 3.53mm Width

1шт.

22

181165A1

WASHER,12.5mm ID x 52mm OD x 5mm Thk

1шт.

23

P3533055

SCREW,M12 x 1.25 x 25mm

1шт.

Выбрано товаров: 26